专利数据库
统计分析
产业报告
专利数据监控
产业人才
行业动态
产业政策法规
维权援助
个人中心
详情
文本
图像
标题
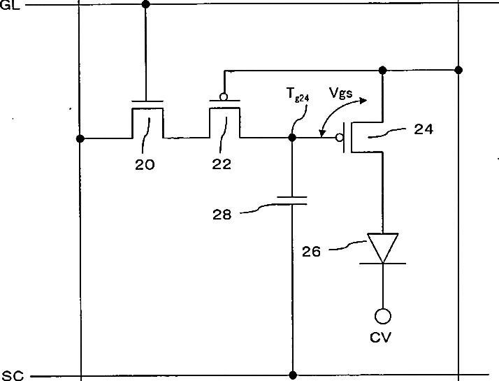
Pixel circuit and display apparatus
授权日
1900-01-01
公开(公告)号
US20060145960A1
申请日
2004-11-08
公开(公告)日
2006-07-06
当前申请(专利权)人
SANYO ELECTRIC CO., LTD.
发明人
KOGA, MASAYUKI | MARUMO, KOJI
简单同族
JP2005157266A | JP4180018B2 | KR100679199B1 | KR1020060024347A | TW200521918A | TWI296790B | US20060145960A1 | US7477218 | WO2005045796A1
简单同族成员数量
9
简单同族被引用专利总数
115
诉讼案件数
0
法律状态/事件
授权 | 权利转移
抱歉,您的浏览器不支持PDF预览,请点击链接下载PDF文件