专利数据库
统计分析
产业报告
专利数据监控
产业人才
行业动态
产业政策法规
维权援助
个人中心
详情
文本
图像
标题
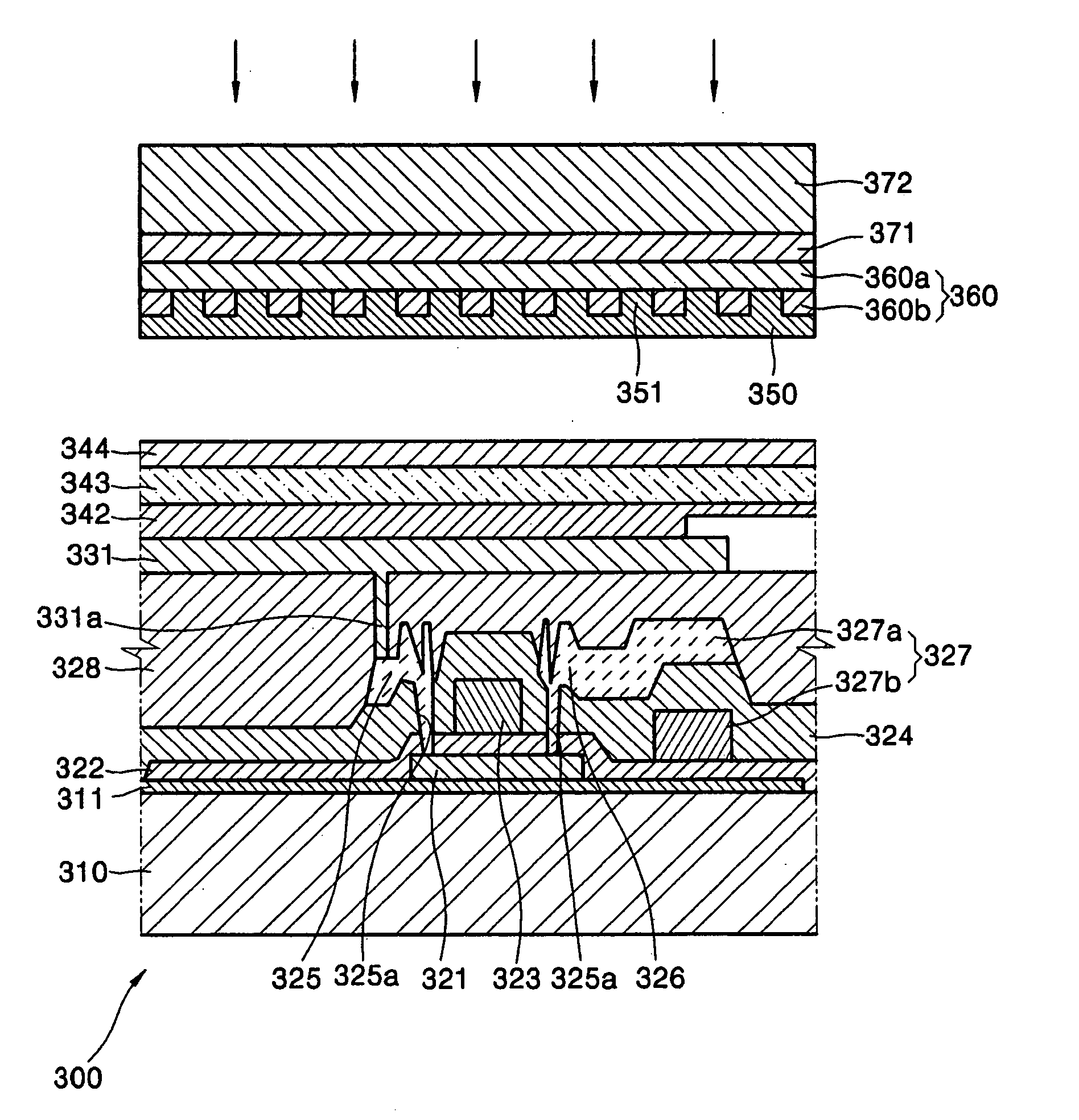
Electroluminescent display device and thermal transfer donor film for the electroluminescent display device
授权日
1900-01-01
公开(公告)号
US20050116625A1
申请日
2004-11-19
公开(公告)日
2005-06-02
当前申请(专利权)人
SAMSUNG DISPLAY CO., LTD.
发明人
PARK, JIN-WOO | CHUNG, HO-KYOON | KWON, JANG-HYUK | KIM, MU-HYUN | SONG, SEUNG-YONG | DO, YOUNG-RAG | KIM, YOON-CHANG | KANG, TAE-MIN | LEE, SEONG-TAEK
简单同族
CN100595931C | CN101409331A | CN1622727A | JP2005166635A | KR100563059B1 | KR1020050052648A | US20050116625A1 | US20090291237A1 | US20090295284A1 | US7589461 | US8013514
简单同族成员数量
11
简单同族被引用专利总数
113
诉讼案件数
0
法律状态/事件
授权 | 权利转移
抱歉,您的浏览器不支持PDF预览,请点击链接下载PDF文件