专利数据库
统计分析
产业报告
专利数据监控
产业人才
行业动态
产业政策法规
维权援助
个人中心
详情
文本
图像
标题
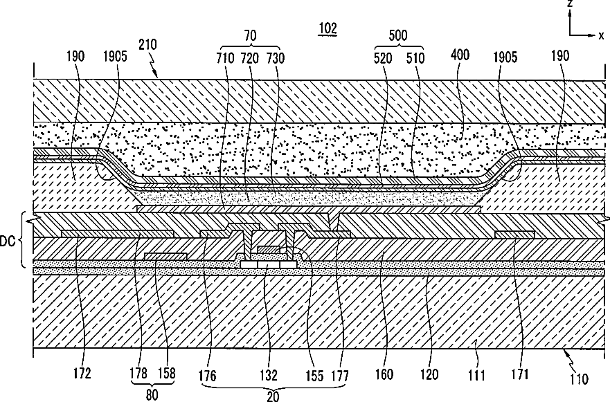
Organic light emitting diode display
授权日
1900-01-01
公开(公告)号
US20110121271A1
申请日
2010-08-31
公开(公告)日
2011-05-26
当前申请(专利权)人
SAMSUNG MOBILE DISPLAY CO., LTD.
发明人
JEON, HEE-SONG | PARK, SOON-RYONG
简单同族
CN102074568A | JP2011113968A | KR1020110058126A | US20110121271A1
简单同族成员数量
4
简单同族被引用专利总数
64
诉讼案件数
0
法律状态/事件
撤回 | 权利转移
抱歉,您的浏览器不支持PDF预览,请点击链接下载PDF文件