专利数据库
统计分析
产业报告
专利数据监控
产业人才
行业动态
产业政策法规
维权援助
个人中心
详情
文本
图像
标题
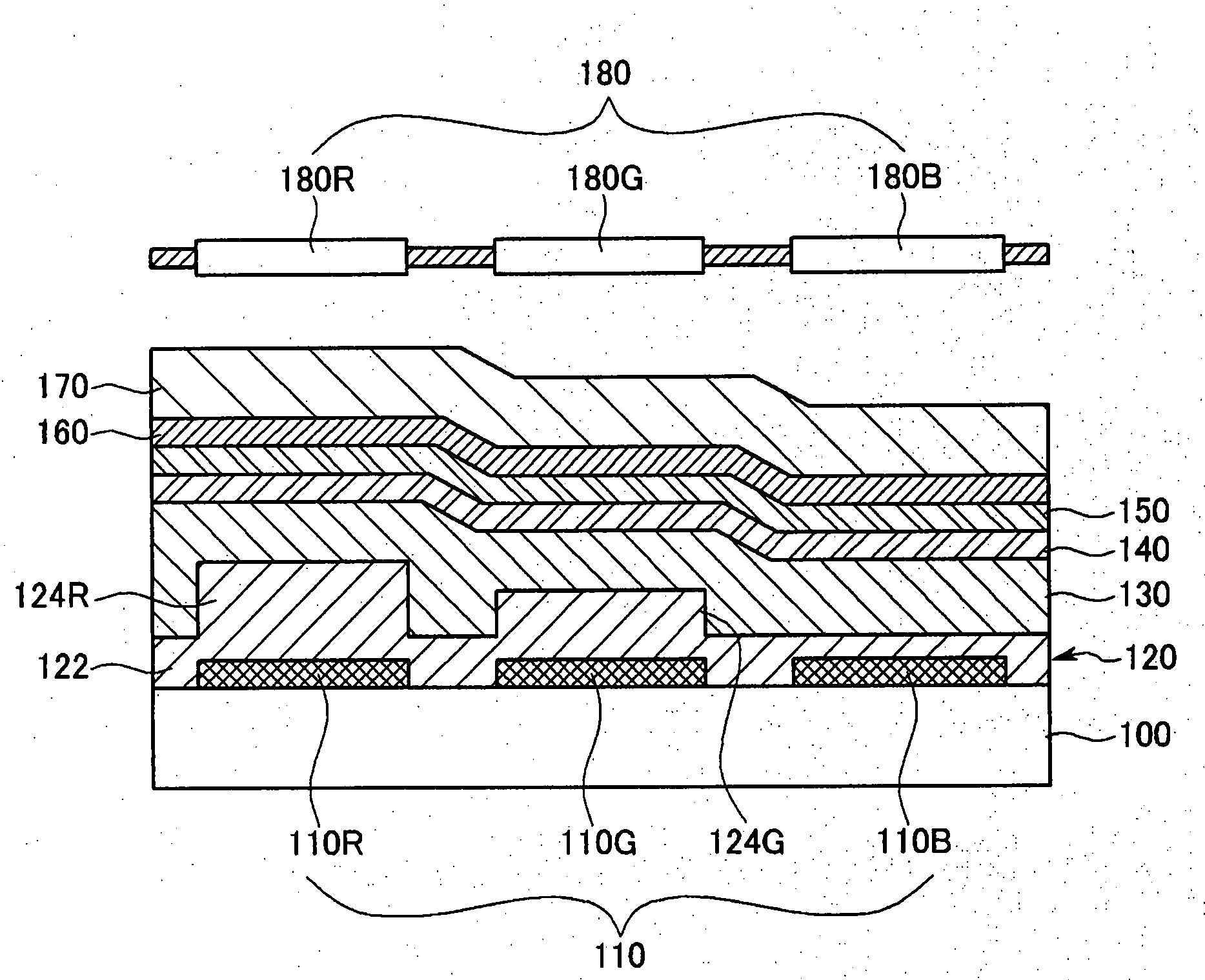
Organic light emitting display and fabrication method of the same
授权日
1900-01-01
公开(公告)号
US20080111474A1
申请日
2007-03-26
公开(公告)日
2008-05-15
当前申请(专利权)人
SAMSUNG DISPLAY CO., LTD.
发明人
SUNG, YEUN-JOO | JEONG, HEE-SEONG | YOO, BYEONG-WOOK | OH, JUN-SIK | KHO, SAM-IL
简单同族
KR100823511B1 | US20080111474A1 | US7872256
简单同族成员数量
3
简单同族被引用专利总数
100
诉讼案件数
0
法律状态/事件
授权 | 权利转移
抱歉,您的浏览器不支持PDF预览,请点击链接下载PDF文件