专利数据库
统计分析
产业报告
专利数据监控
产业人才
行业动态
产业政策法规
维权援助
个人中心
详情
文本
图像
标题
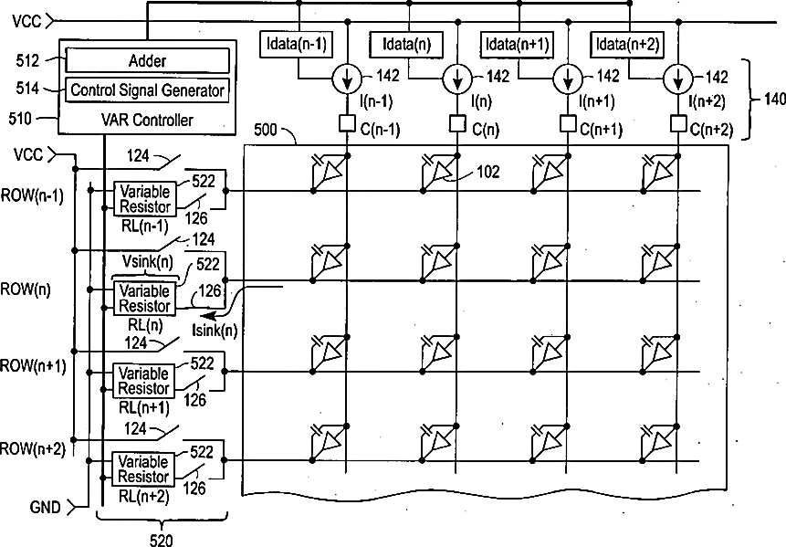
Removing crosstalk in an organic light-emitting diode display
授权日
1900-01-01
公开(公告)号
US20060001615A1
申请日
2004-07-01
公开(公告)日
2006-01-05
当前申请(专利权)人
AIMS INC.
发明人
KIM, CHANG OON
简单同族
CN101027708A | KR100852596B1 | KR1020070057782A | TW200614132A | US20060001615A1 | US7298351 | WO2006007445A2 | WO2006007445A3
简单同族成员数量
8
简单同族被引用专利总数
101
诉讼案件数
0
法律状态/事件
未缴年费 | 权利转移
抱歉,您的浏览器不支持PDF预览,请点击链接下载PDF文件