专利数据库
统计分析
产业报告
专利数据监控
产业人才
行业动态
产业政策法规
维权援助
个人中心
详情
文本
图像
标题
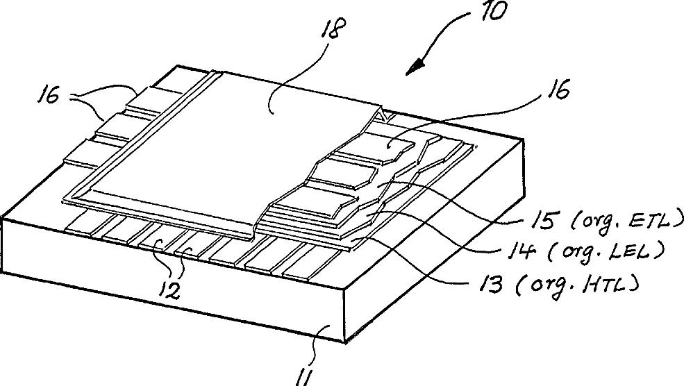
Method of handling organic material in making an organic light-emitting device
授权日
1900-01-01
公开(公告)号
US20030008071A1
申请日
2001-07-03
公开(公告)日
2003-01-09
当前申请(专利权)人
GLOBAL OLED TECHNOLOGY LLC
发明人
VAN SLYKE, STEVEN A. | GHOSH, SYAMAL K. | CARLTON, DONN B.
简单同族
EP1274136A2 | EP1274136A3 | JP2003115381A | JP2003115381A5 | KR1020030004112A | TW543339B | US20030008071A1 | US6797314
简单同族成员数量
8
简单同族被引用专利总数
57
诉讼案件数
0
法律状态/事件
授权 | 权利转移
抱歉,您的浏览器不支持PDF预览,请点击链接下载PDF文件