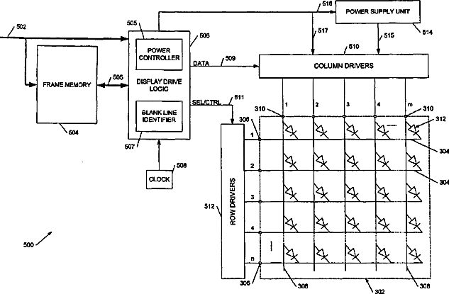
Display driver circuits for organic light emitting diode displays with skipping of blank lines, method of reducing power consumption of a display, processor control code to implement the method, and carrier for the control code
授权日
2012-05-29
公开(公告)号
US8188949
申请日
2008-12-12
公开(公告)日
2012-05-29
当前申请(专利权)人
CAMBRIDGE DISPLAY TECHNOLOGY LTD.
发明人
SMITH, EUAN C. | ROUTLEY, PAUL R. | GOODCHILD, WILLIAM