专利数据库
统计分析
产业报告
专利数据监控
产业人才
行业动态
产业政策法规
维权援助
个人中心
详情
文本
图像
标题
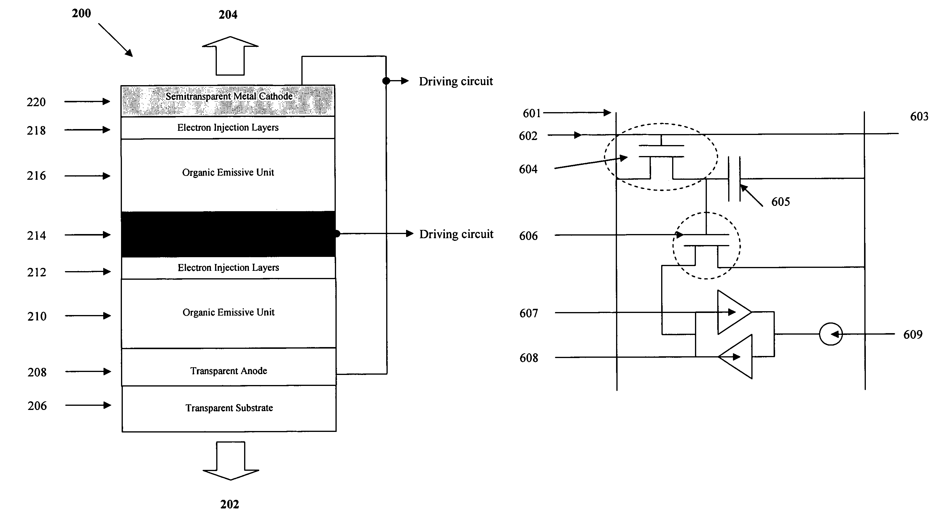
Double sided emission organic light emitting diode display
授权日
2012-09-11
公开(公告)号
US8263968
申请日
2006-10-31
公开(公告)日
2012-09-11
当前申请(专利权)人
HONG KONG UNIVERSITY OF SCIENCE AND TECHNOLOGY
发明人
KWOK, HOI-SING | WONG, MAN | SUN, JIAXIN | MENG, ZHIGUO | ZHU, XIULING
简单同族
US20070114522A1 | US8263968
简单同族成员数量
2
简单同族被引用专利总数
46
诉讼案件数
0
法律状态/事件
授权 | 权利转移
抱歉,您的浏览器不支持PDF预览,请点击链接下载PDF文件