专利数据库
统计分析
产业报告
专利数据监控
产业人才
行业动态
产业政策法规
维权援助
个人中心
详情
文本
图像
标题
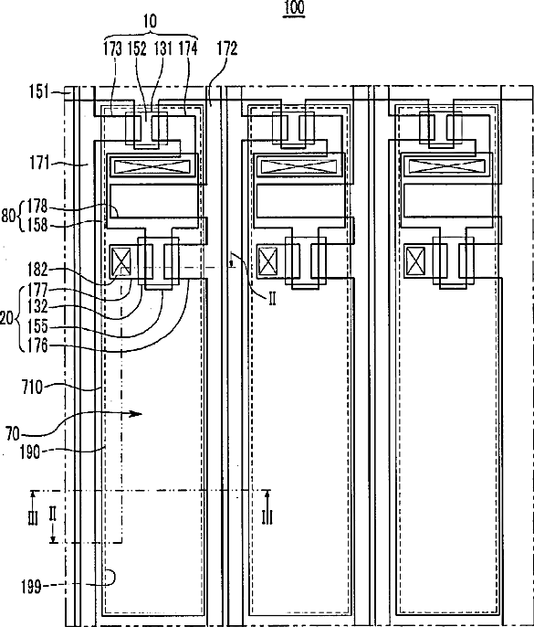
Organic light emitting diode display
授权日
1900-01-01
公开(公告)号
US20100200845A1
申请日
2010-02-08
公开(公告)日
2010-08-12
当前申请(专利权)人
SAMSUNG DISPLAY CO., LTD.
发明人
JEONG, HEE-SEONG | JEON, HEE-CHUL | JUNG, WOO-SUK | JEONG, CHUL-WOO | KWAK, NOH-MIN | KIM, EUN-AH | PARK, SOON-RYONG | LEE, JOO-HWA
简单同族
CN101853877A | EP2216840A2 | EP2216840A3 | EP2216840B1 | JP2010182667A | JP2012054245A | KR101147428B1 | KR1020100090997A | US20100200845A1 | US8809838
简单同族成员数量
10
简单同族被引用专利总数
55
诉讼案件数
0
法律状态/事件
授权 | 权利转移
抱歉,您的浏览器不支持PDF预览,请点击链接下载PDF文件