专利数据库
统计分析
产业报告
专利数据监控
产业人才
行业动态
产业政策法规
维权援助
个人中心
详情
文本
图像
标题
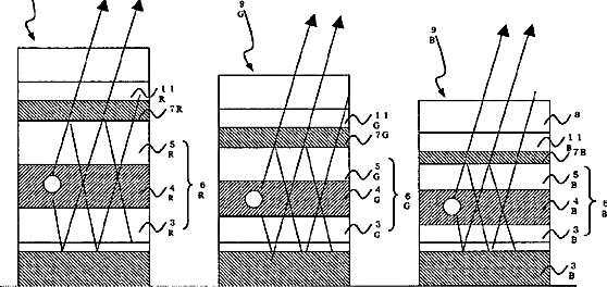
Organic light-emitting device with microcavity structure and differing semi-transparent layer materials
授权日
2012-08-28
公开(公告)号
US8253325
申请日
2010-10-21
公开(公告)日
2012-08-28
当前申请(专利权)人
CANON KABUSHIKI KAISHA
发明人
MIZUNO, NOBUTAKA | FUKUDA, KOICHI
简单同族
JP2008091323A | JP2008091323A5 | JP5178088B2 | US20080067926A1 | US20110031515A1 | US7843123 | US8253325
简单同族成员数量
7
简单同族被引用专利总数
67
诉讼案件数
0
法律状态/事件
未缴年费
抱歉,您的浏览器不支持PDF预览,请点击链接下载PDF文件