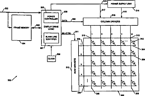
Display driver circuits for organic light emitting diode displays with skipping of blank lines, method of reducing power consumption of a display, processor control code to implement the method, and carrier for the control code
授权日
2009-01-06
公开(公告)号
US7474288
申请日
2003-04-22
公开(公告)日
2009-01-06
当前申请(专利权)人
CAMBRIDGE DISPLAY TECHNOLOGY LIMITED
发明人
SMITH, EUAN C. | ROUTLEY, PAUL R. | GOODCHILD, WILLIAM