专利数据库
统计分析
产业报告
专利数据监控
产业人才
行业动态
产业政策法规
维权援助
个人中心
详情
文本
图像
标题
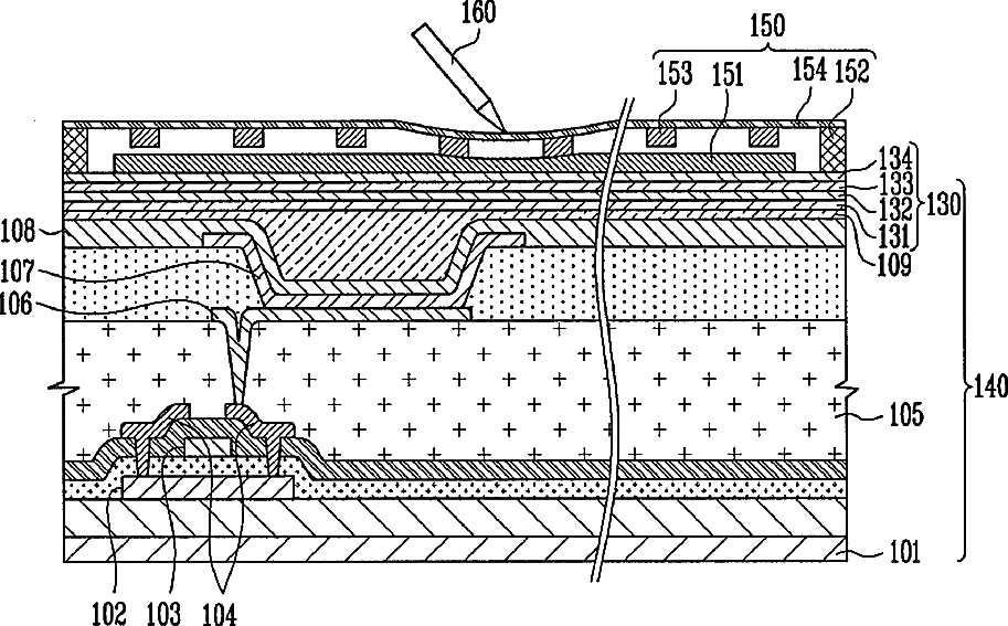
Organic light emitting display device
授权日
1900-01-01
公开(公告)号
US20080278070A1
申请日
2008-05-08
公开(公告)日
2008-11-13
当前申请(专利权)人
SAMSUNG DISPLAY CO., LTD.
发明人
KIM, HYEONG-GWON
简单同族
KR100873080B1 | KR1020080099684A | US20080278070A1 | US7936121
简单同族成员数量
4
简单同族被引用专利总数
115
诉讼案件数
0
法律状态/事件
授权 | 权利转移
抱歉,您的浏览器不支持PDF预览,请点击链接下载PDF文件