专利数据库
统计分析
产业报告
专利数据监控
产业人才
行业动态
产业政策法规
维权援助
个人中心
详情
文本
图像
标题
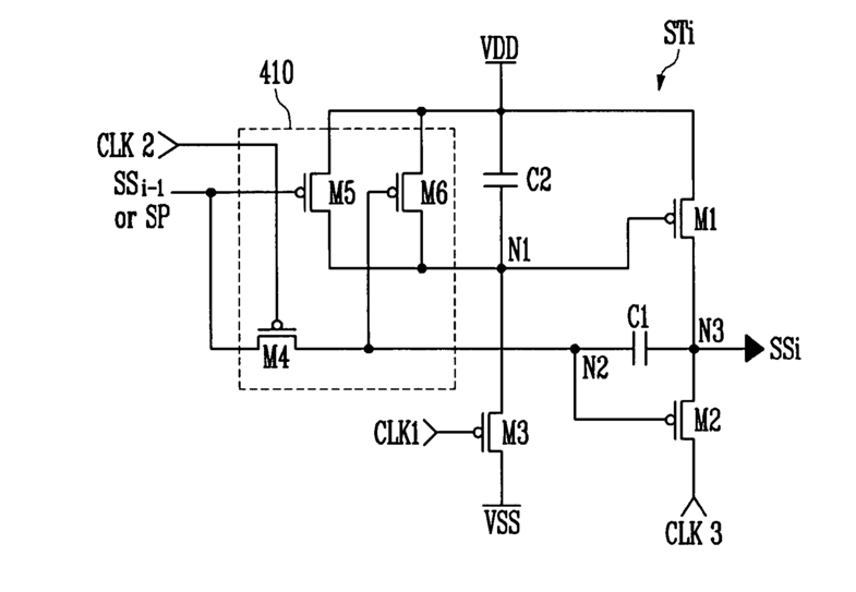
Shift register and organic light emitting display using the same
授权日
2010-08-31
公开(公告)号
US7786972
申请日
2007-07-12
公开(公告)日
2010-08-31
当前申请(专利权)人
SAMSUNG DISPLAY CO., LTD.
发明人
JEONG, SEON-I | JEONG, JIN-TAE
简单同族
KR100805538B1 | US20080062097A1 | US7786972
简单同族成员数量
3
简单同族被引用专利总数
75
诉讼案件数
0
法律状态/事件
未缴年费 | 权利转移
抱歉,您的浏览器不支持PDF预览,请点击链接下载PDF文件