专利数据库
统计分析
产业报告
专利数据监控
产业人才
行业动态
产业政策法规
维权援助
个人中心
详情
文本
图像
标题
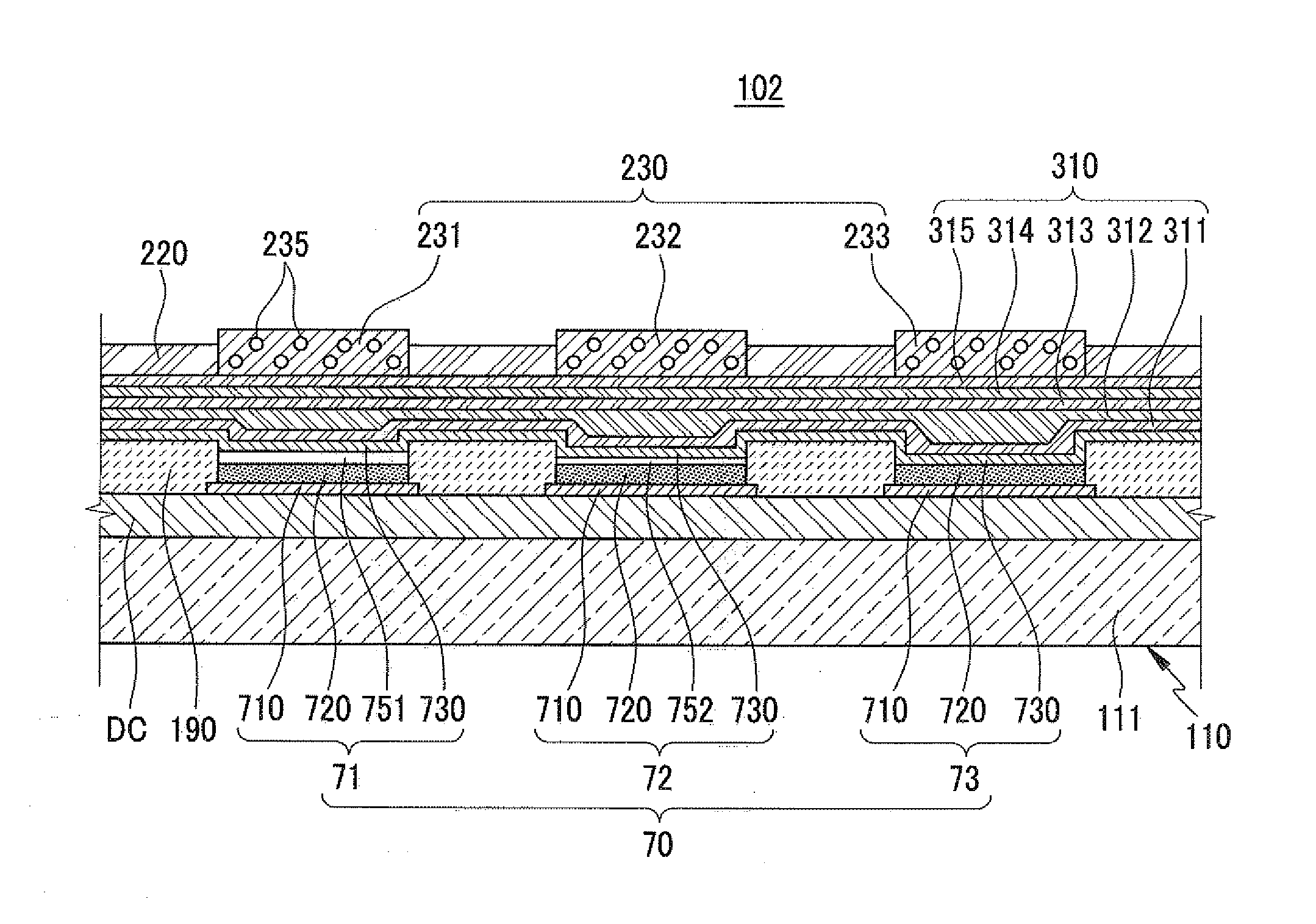
Organic Light Emitting Diode Display
授权日
1900-01-01
公开(公告)号
US20110042697A1
申请日
2010-07-27
公开(公告)日
2011-02-24
当前申请(专利权)人
SAMSUNG DISPLAY CO., LTD.
发明人
LEE, DONG-KYU | KIM, GUN-SHIK
简单同族
KR101094298B1 | KR1020110018785A | US20110042697A1 | US8648361
简单同族成员数量
4
简单同族被引用专利总数
61
诉讼案件数
0
法律状态/事件
授权 | 权利转移
抱歉,您的浏览器不支持PDF预览,请点击链接下载PDF文件