专利数据库
统计分析
产业报告
专利数据监控
产业人才
行业动态
产业政策法规
维权援助
个人中心
详情
文本
图像
标题
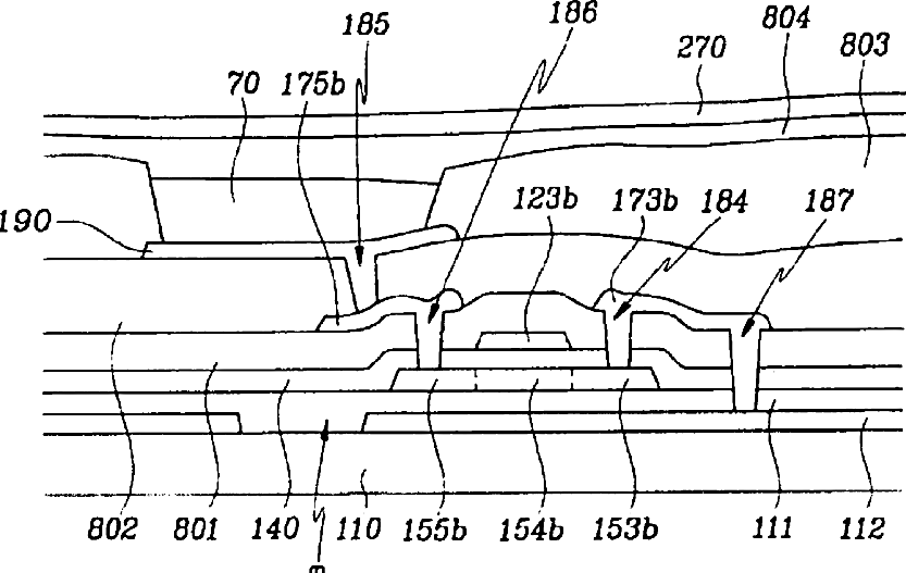
Organic electroluminescence display panel
授权日
2005-09-20
公开(公告)号
US6946791
申请日
2003-12-11
公开(公告)日
2005-09-20
当前申请(专利权)人
SAMSUNG DISPLAY CO., LTD.
发明人
CHOI, BEOHM-ROCK | CHAI, CHONG-CHUL | SHIN, KYONG-JU
简单同族
CN100487906C | CN101359681A | CN1551690A | JP2004193129A | JP4813015B2 | KR100895313B1 | KR1020040050945A | TW200421906A | TWI339543B | US20040135173A1 | US20050280039A1 | US6946791
简单同族成员数量
12
简单同族被引用专利总数
58
诉讼案件数
0
法律状态/事件
授权 | 权利转移
抱歉,您的浏览器不支持PDF预览,请点击链接下载PDF文件