专利数据库
统计分析
产业报告
专利数据监控
产业人才
行业动态
产业政策法规
维权援助
个人中心
详情
文本
图像
标题
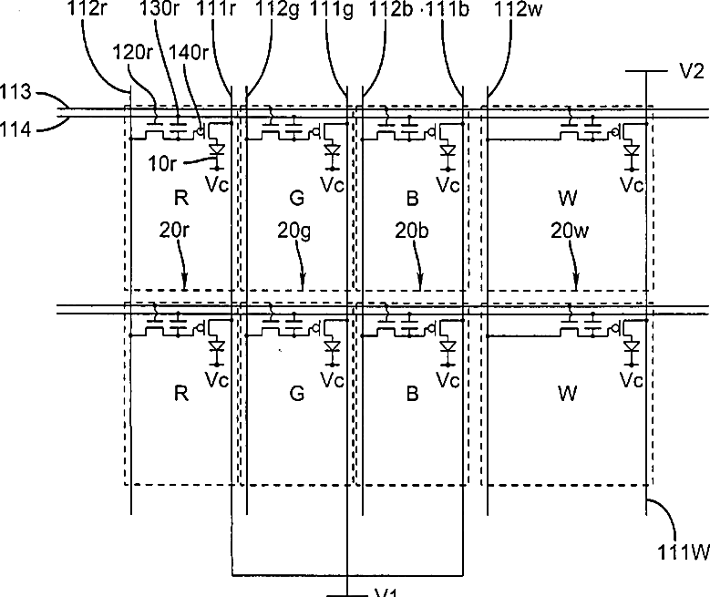
OLED display with improved active matrix circuitry
授权日
1900-01-01
公开(公告)号
US20060197458A1
申请日
2005-03-01
公开(公告)日
2006-09-07
当前申请(专利权)人
GLOBAL OLED TECHNOLOGY LLC
发明人
WINTERS, DUSTIN L. | LUDWICKI, JOHN E.
简单同族
EP1864277A1 | EP2660806A1 | JP2008532245A | JP2008532245A5 | US20060197458A1 | US7190122 | WO2007050113A1
简单同族成员数量
7
简单同族被引用专利总数
58
诉讼案件数
0
法律状态/事件
授权 | 权利转移
抱歉,您的浏览器不支持PDF预览,请点击链接下载PDF文件