专利数据库
统计分析
产业报告
专利数据监控
产业人才
行业动态
产业政策法规
维权援助
个人中心
详情
文本
图像
标题
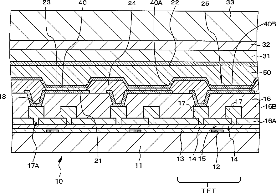
Light-emitting element and organic electroluminescent display device
授权日
1900-01-01
公开(公告)号
US20110121346A1
申请日
2009-07-28
公开(公告)日
2011-05-26
当前申请(专利权)人
SONY CORPORATION
发明人
YAMADA, JIRO | NEGISHI, EISUKE | NAKAMURA, HIROFUMI | NAKAMURA, AKIFUMI | YOSHINAGA, TADAHIKO
简单同族
CN102113415A | JP2010056075A | KR1020110050435A | US20110121346A1 | US20140151672A1 | US8664677 | WO2010013689A1
简单同族成员数量
7
简单同族被引用专利总数
48
诉讼案件数
0
法律状态/事件
未缴年费 | 权利转移
抱歉,您的浏览器不支持PDF预览,请点击链接下载PDF文件