专利数据库
统计分析
产业报告
专利数据监控
产业人才
行业动态
产业政策法规
维权援助
个人中心
详情
文本
图像
标题
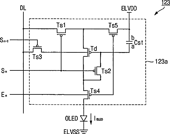
Organic light emitting diode display
授权日
2011-09-13
公开(公告)号
US8018408
申请日
2007-12-19
公开(公告)日
2011-09-13
当前申请(专利权)人
SAMSUNG DISPLAY CO., LTD.
发明人
CHOI, SANGMOO
简单同族
CN101206835A | EP1936597A2 | EP1936597A3 | EP1936597B1 | JP2008158475A | JP4742056B2 | KR100824852B1 | US20080150844A1 | US8018408
简单同族成员数量
9
简单同族被引用专利总数
60
诉讼案件数
0
法律状态/事件
授权 | 权利转移
抱歉,您的浏览器不支持PDF预览,请点击链接下载PDF文件