专利数据库
统计分析
产业报告
专利数据监控
产业人才
行业动态
产业政策法规
维权援助
个人中心
详情
文本
图像
标题
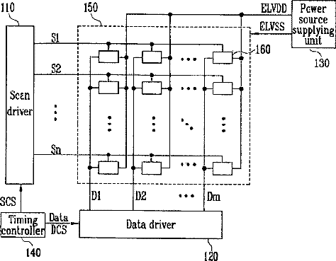
Organic light emitting display device
授权日
1900-01-01
公开(公告)号
US20090184899A1
申请日
2009-01-16
公开(公告)日
2009-07-23
当前申请(专利权)人
SAMSUNG DISPLAY CO., LTD.
发明人
KIM, TAE-JIN | KIM, KEUM-NAM | SEO, HAE-KWAN | GU, BON-SEOG
简单同族
CN101488518A | CN101488518B | EP2081178A2 | EP2081178A3 | JP2009169374A | KR100916911B1 | KR1020090079549A | US20090184899A1
简单同族成员数量
8
简单同族被引用专利总数
65
诉讼案件数
0
法律状态/事件
撤回 | 权利转移
抱歉,您的浏览器不支持PDF预览,请点击链接下载PDF文件