专利数据库
统计分析
产业报告
专利数据监控
产业人才
行业动态
产业政策法规
维权援助
个人中心
详情
文本
图像
标题
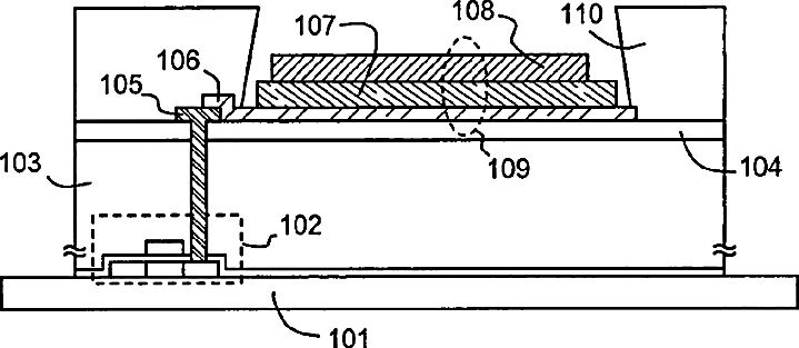
Light emitting display device with thin film transistor having organic and inorganic insulating films
授权日
2007-03-13
公开(公告)号
US7190114
申请日
2005-05-03
公开(公告)日
2007-03-13
当前申请(专利权)人
SEMICONDUCTOR ENERGY LABORATORY CO., LTD.
发明人
YAMAGATA, HIROKAZU | IKEDA, HISAO | ADACHI, YOSHIMI | MIYAGI, NORIKO | ARAO, TATSUYA | ONO, KOJI
简单同族
JP2009032699A | JP5042170B2 | TW525402B | US20020110940A1 | US20050197034A1 | US6893887 | US7190114
简单同族成员数量
7
简单同族被引用专利总数
120
诉讼案件数
0
法律状态/事件
未缴年费
抱歉,您的浏览器不支持PDF预览,请点击链接下载PDF文件