专利数据库
统计分析
产业报告
专利数据监控
产业人才
行业动态
产业政策法规
维权援助
个人中心
详情
文本
图像
标题
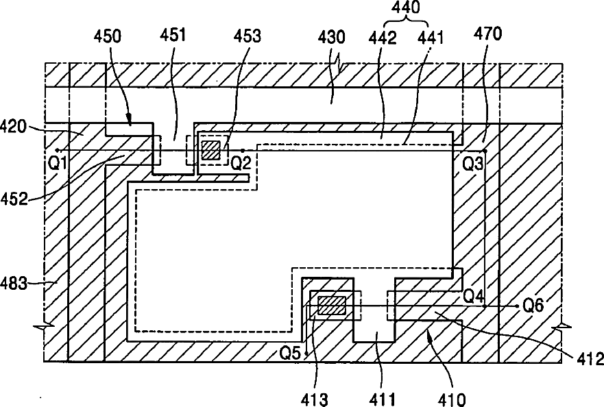
Active matrix organic electroluminescent display device including organic thin film transistor and method of manufacturing the display device
授权日
1900-01-01
公开(公告)号
US20050285107A1
申请日
2005-06-22
公开(公告)日
2005-12-29
当前申请(专利权)人
SAMSUNG DISPLAY CO., LTD.
发明人
KOO, JAE-BON | SUH, MIN-CHUL
简单同族
CN100521842C | CN1741696A | JP2006011431A | JP4431088B2 | KR100659054B1 | KR1020050121851A | US20050285107A1 | US7335919
简单同族成员数量
8
简单同族被引用专利总数
51
诉讼案件数
0
法律状态/事件
授权 | 权利转移
抱歉,您的浏览器不支持PDF预览,请点击链接下载PDF文件