专利数据库
统计分析
产业报告
专利数据监控
产业人才
行业动态
产业政策法规
维权援助
个人中心
详情
文本
图像
标题
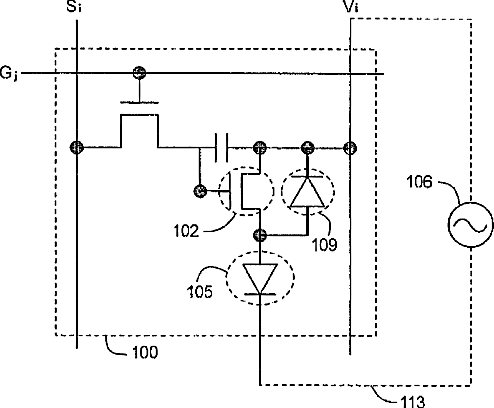
Display device and method of driving the same
授权日
2007-06-12
公开(公告)号
US7230591
申请日
2002-05-23
公开(公告)日
2007-06-12
当前申请(专利权)人
SEMICONDUCTOR ENERGY LABORATORY CO., LTD.
发明人
INUKAI, KAZUTAKA
简单同族
CN100388338C | CN1388504A | JP2002358048A | JP2002358048A5 | JP4869497B2 | US20020180671A1 | US7230591
简单同族成员数量
7
简单同族被引用专利总数
175
诉讼案件数
0
法律状态/事件
未缴年费 | 权利转移
抱歉,您的浏览器不支持PDF预览,请点击链接下载PDF文件