专利数据库
统计分析
产业报告
专利数据监控
产业人才
行业动态
产业政策法规
维权援助
个人中心
详情
文本
图像
标题
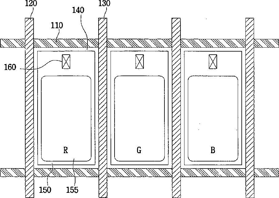
Flat panel display
授权日
1900-01-01
公开(公告)号
US20050017247A1
申请日
2004-07-23
公开(公告)日
2005-01-27
当前申请(专利权)人
SAMSUNG DISPLAY CO., LTD.
发明人
KOO, JAE-BON | PARK, JI-YONG
简单同族
CN1578569A | CN1578569B | KR100527195B1 | KR1020050012958A | US20050017247A1 | US7498605
简单同族成员数量
6
简单同族被引用专利总数
54
诉讼案件数
0
法律状态/事件
授权 | 权利转移
抱歉,您的浏览器不支持PDF预览,请点击链接下载PDF文件