专利数据库
统计分析
产业报告
专利数据监控
产业人才
行业动态
产业政策法规
维权援助
个人中心
详情
文本
图像
标题
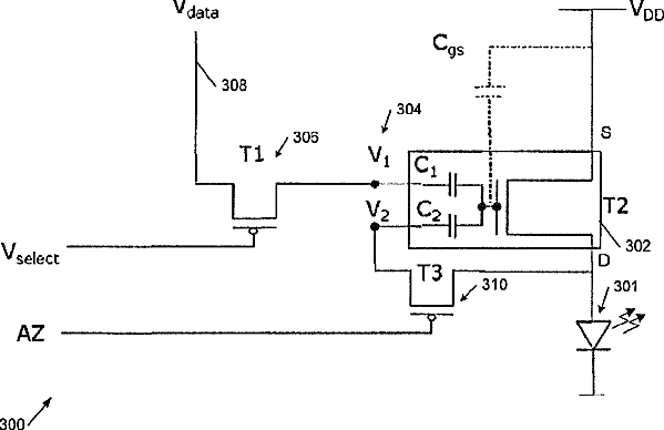
Pixel driver circuits comprising a thin film transistor with a floating gate
授权日
2012-11-20
公开(公告)号
US8314756
申请日
2008-10-29
公开(公告)日
2012-11-20
当前申请(专利权)人
CAMBRIDGE DISPLAY TECHNOLOGY LIMITED
发明人
RANKOV, ALEKSANDRA | SMITH, EUAN C.
简单同族
CN101903936A | CN101903936B | DE112008002931T5 | GB0721567D0 | GB0723859D0 | GB201007074D0 | GB2466749A | GB2466749B | JP2011507005A | JP5444238B2 | KR1020100077003A | TW200926112A | TWI467542B | US20100253710A1 | US8314756 | WO2009056877A1
简单同族成员数量
16
简单同族被引用专利总数
77
诉讼案件数
0
法律状态/事件
授权 | 权利转移
抱歉,您的浏览器不支持PDF预览,请点击链接下载PDF文件