专利数据库
统计分析
产业报告
专利数据监控
产业人才
行业动态
产业政策法规
维权援助
个人中心
详情
文本
图像
标题
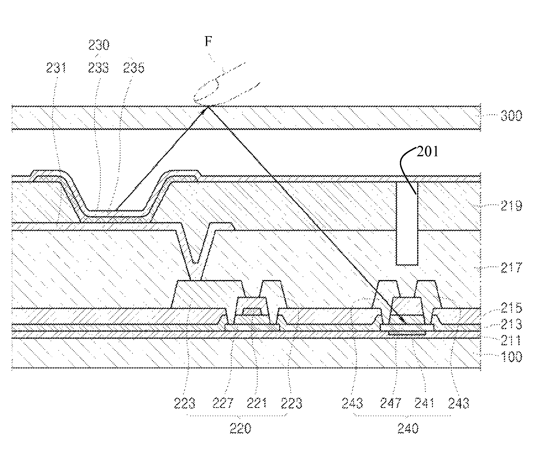
Organic light-emitting display apparatus
授权日
2012-10-09
公开(公告)号
US8283851
申请日
2009-04-22
公开(公告)日
2012-10-09
当前申请(专利权)人
SAMSUNG DISPLAY CO., LTD.
发明人
KIM, YOUNG-DAE | KIM, KYOUNG-BO | KIM, MOO-JIN | KIM, CHEOL-SU | KIM, HYE-DONG | IM, KI-JU | PARK, YONG-SUNG | KIM, GUN-SHIK | OH, JUN-SIK | JANG, BRENT | KIM, SANG-UK
简单同族
KR100987381B1 | KR1020100008707A | US20100001639A1 | US8283851
简单同族成员数量
4
简单同族被引用专利总数
49
诉讼案件数
0
法律状态/事件
授权 | 权利转移
抱歉,您的浏览器不支持PDF预览,请点击链接下载PDF文件