专利数据库
统计分析
产业报告
专利数据监控
产业人才
行业动态
产业政策法规
维权援助
个人中心
详情
文本
图像
标题
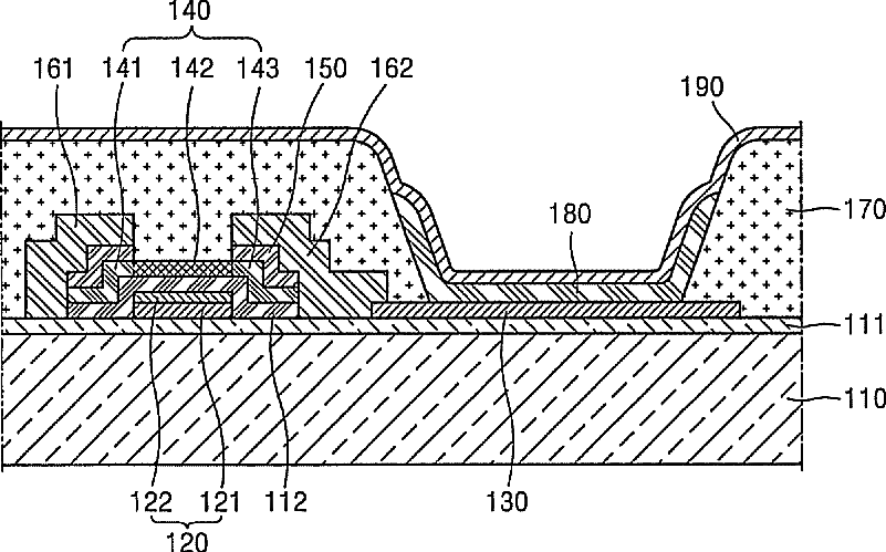
Organic light-emitting display device and method of manufacturing the same
授权日
1900-01-01
公开(公告)号
US20090039353A1
申请日
2008-03-19
公开(公告)日
2009-02-12
当前申请(专利权)人
SAMSUNG DISPLAY CO., LTD.
发明人
JUN, WOO-SIK | JEON, HOE-CHUL
简单同族
KR100875101B1 | US20090039353A1 | US20110049502A1 | US7851245 | US8013341
简单同族成员数量
5
简单同族被引用专利总数
47
诉讼案件数
0
法律状态/事件
未缴年费 | 权利转移
抱歉,您的浏览器不支持PDF预览,请点击链接下载PDF文件