专利数据库
统计分析
产业报告
专利数据监控
产业人才
行业动态
产业政策法规
维权援助
个人中心
详情
文本
图像
标题
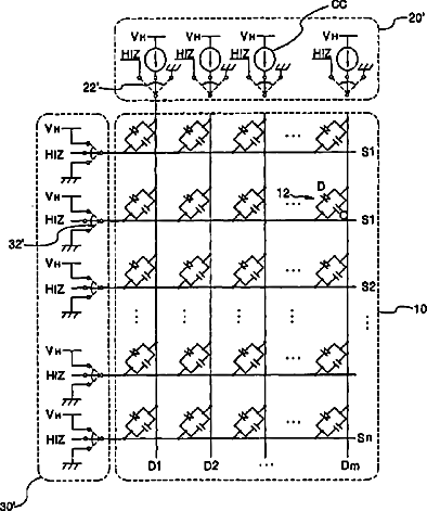
Organic light emitting diode display device driving apparatus and driving method thereof
授权日
2005-07-05
公开(公告)号
US6914388
申请日
2003-09-24
公开(公告)日
2005-07-05
当前申请(专利权)人
HANA MICRON INC.
发明人
SHIN, HONG-JAE | KWACK, KAE-DAL
简单同族
JP2004184985A | KR100432554B1 | US20040104686A1 | US6914388
简单同族成员数量
4
简单同族被引用专利总数
50
诉讼案件数
0
法律状态/事件
未缴年费 | 权利转移
抱歉,您的浏览器不支持PDF预览,请点击链接下载PDF文件