专利数据库
统计分析
产业报告
专利数据监控
产业人才
行业动态
产业政策法规
维权援助
个人中心
详情
文本
图像
标题
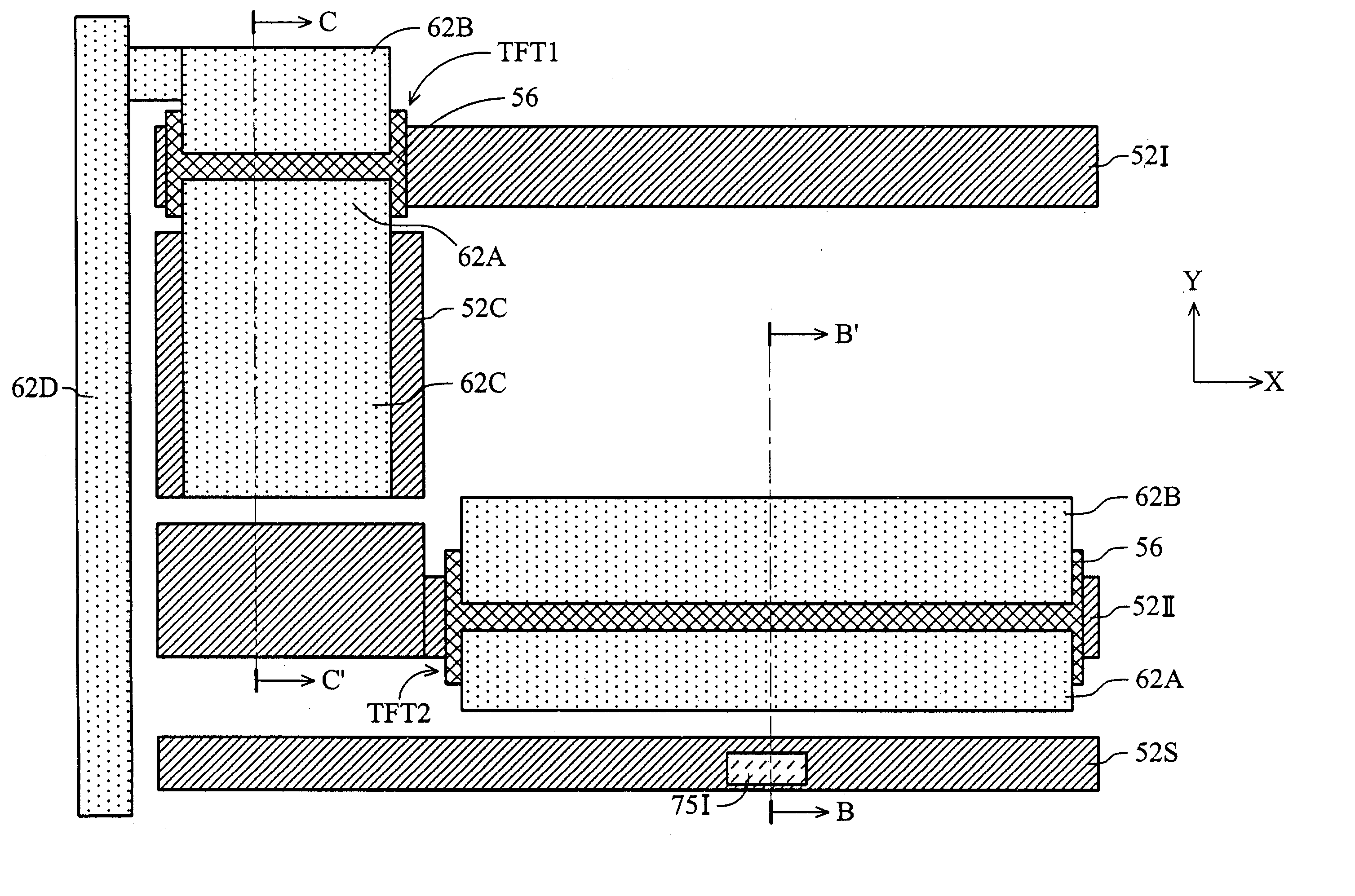
Active matrix organic light emitting display and method of forming the same
授权日
1900-01-01
公开(公告)号
US20030205708A1
申请日
2003-01-08
公开(公告)日
2003-11-06
当前申请(专利权)人
AU OPTRONICS CORP.
发明人
LEE, HSIN-HUNG | SUNG, CHIH-FENG
简单同族
TW546853B | US20030205708A1 | US20040232420A1 | US6784032 | US7176070
简单同族成员数量
5
简单同族被引用专利总数
66
诉讼案件数
0
法律状态/事件
授权 | 权利转移
抱歉,您的浏览器不支持PDF预览,请点击链接下载PDF文件