专利数据库
统计分析
产业报告
专利数据监控
产业人才
行业动态
产业政策法规
维权援助
个人中心
详情
文本
图像
标题
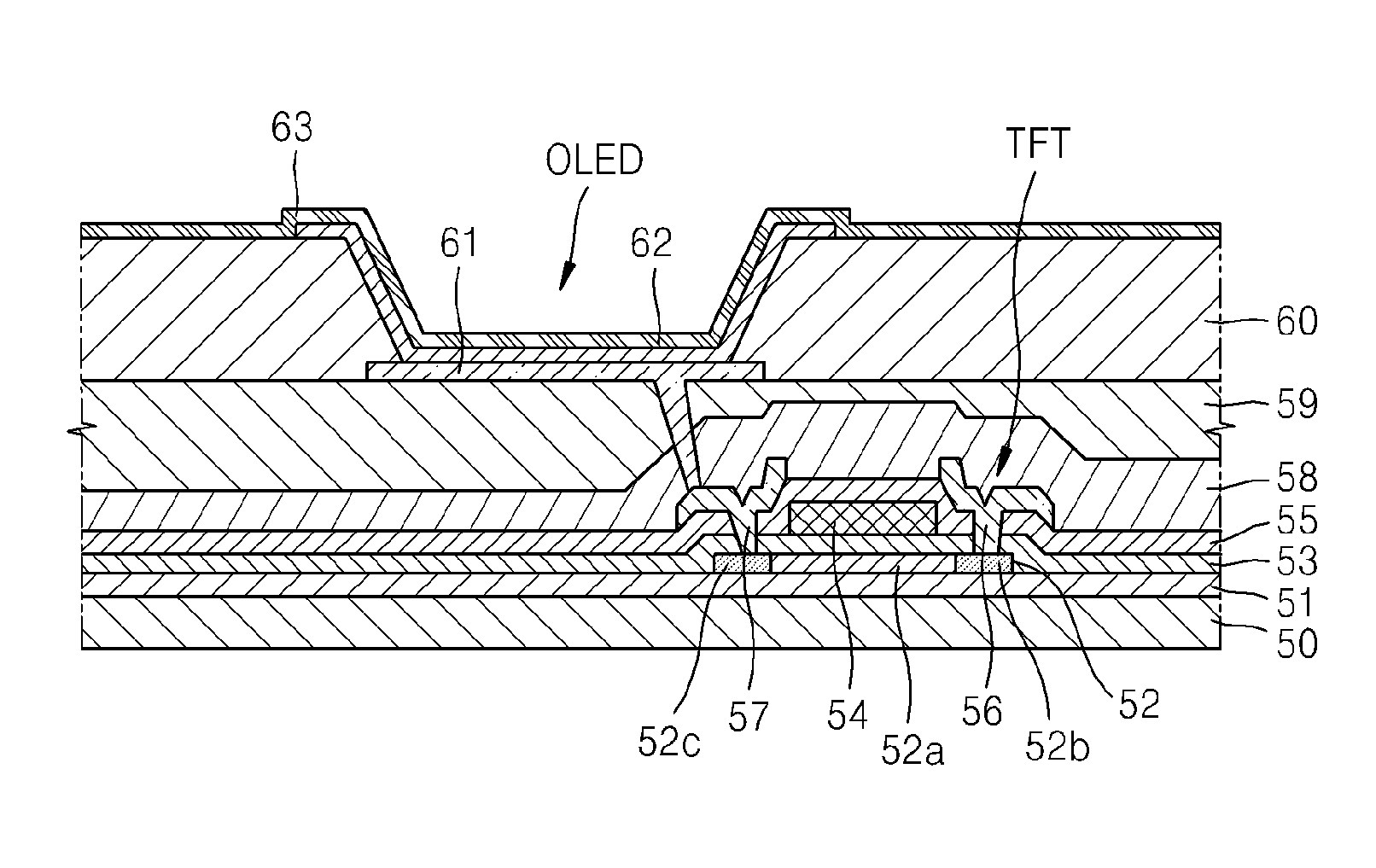
Organic light-emitting display device and thin film deposition apparatus for manufacturing the same
授权日
1900-01-01
公开(公告)号
US20100328197A1
申请日
2010-06-14
公开(公告)日
2010-12-30
当前申请(专利权)人
SAMSUNG DISPLAY CO., LTD.
发明人
LEE, JUNG-MIN | LEE, CHOONG-HO
简单同族
CN101930993A | CN101930993B | KR101097311B1 | KR1020100138139A | US20100328197A1 | US8907326
简单同族成员数量
6
简单同族被引用专利总数
54
诉讼案件数
0
法律状态/事件
授权 | 权利转移
抱歉,您的浏览器不支持PDF预览,请点击链接下载PDF文件