专利数据库
统计分析
产业报告
专利数据监控
产业人才
行业动态
产业政策法规
维权援助
个人中心
详情
文本
图像
标题
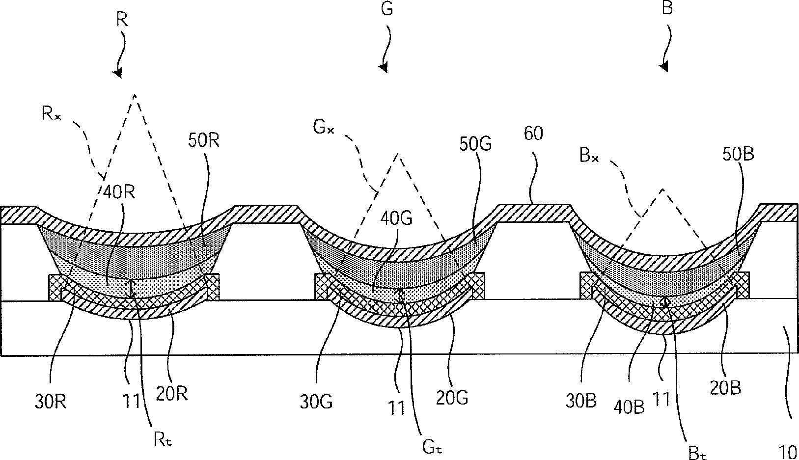
Organic EL display panel
授权日
2012-06-19
公开(公告)号
US8203158
申请日
2010-06-21
公开(公告)日
2012-06-19
当前申请(专利权)人
JOLED INC
发明人
YOSHIDA, HIDEHIRO | OKUMOTO, KENJI
简单同族
JP2011009017A | US20100327297A1 | US8203158
简单同族成员数量
3
简单同族被引用专利总数
48
诉讼案件数
0
法律状态/事件
授权 | 权利转移
抱歉,您的浏览器不支持PDF预览,请点击链接下载PDF文件