专利数据库
统计分析
产业报告
专利数据监控
产业人才
行业动态
产业政策法规
维权援助
个人中心
详情
文本
图像
标题
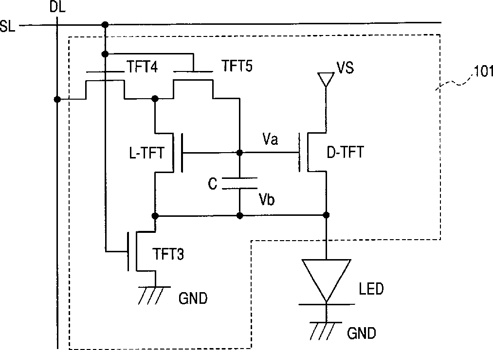
Light emitting display device with first and second transistor films and capacitor with large capacitance value
授权日
2012-04-17
公开(公告)号
US8159422
申请日
2007-08-24
公开(公告)日
2012-04-17
当前申请(专利权)人
CANON KABUSHIKI KAISHA
发明人
ABE, KATSUMI
简单同族
CN101427296A | CN101427296B | EP2016579A1 | JP2013225140A | KR101014899B1 | KR1020090013811A | US20090231241A1 | US8159422 | WO2008029717A1
简单同族成员数量
9
简单同族被引用专利总数
46
诉讼案件数
0
法律状态/事件
未缴年费 | 权利转移
抱歉,您的浏览器不支持PDF预览,请点击链接下载PDF文件