专利数据库
统计分析
产业报告
专利数据监控
产业人才
行业动态
产业政策法规
维权援助
个人中心
详情
文本
图像
标题
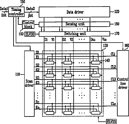
Organic light emitting display and driving method thereof to characterize pixel parameter values
授权日
2013-09-03
公开(公告)号
US8525756
申请日
2008-04-08
公开(公告)日
2013-09-03
当前申请(专利权)人
SAMSUNG DISPLAY CO., LTD.
发明人
KWON, OH-KYONG
简单同族
KR100858616B1 | US20080252570A1 | US8525756
简单同族成员数量
3
简单同族被引用专利总数
63
诉讼案件数
0
法律状态/事件
授权 | 权利转移
抱歉,您的浏览器不支持PDF预览,请点击链接下载PDF文件