专利数据库
统计分析
产业报告
专利数据监控
产业人才
行业动态
产业政策法规
维权援助
个人中心
详情
文本
图像
标题
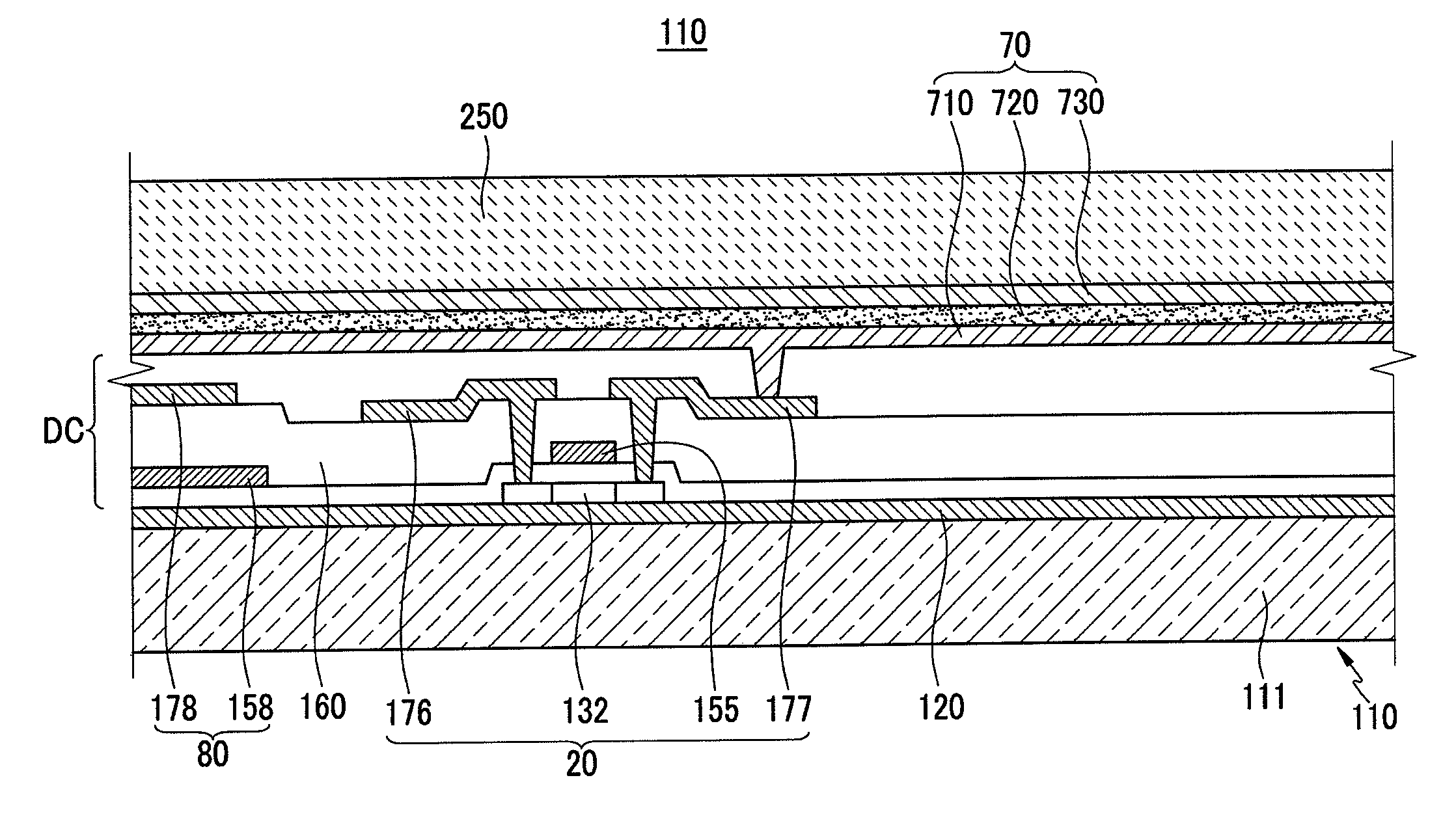
Organic light emitting diode display and method of manufacturing the same
授权日
1900-01-01
公开(公告)号
US20100308335A1
申请日
2010-06-04
公开(公告)日
2010-12-09
当前申请(专利权)人
SAMSUNG DISPLAY CO., LTD.
发明人
KIM, TAE-WOONG | JIN, DONG-UN | LEE, DONG-BUM | STRYAKHILEV, DENIS
简单同族
AT543222T | CN101908555A | CN101908555B | EP2259321A1 | EP2259321B1 | JP2010282966A | JP2013254747A | JP5791673B2 | KR101155907B1 | KR1020100130898A | TW201044899A | TWI555431B | US20100308335A1 | US8237165
简单同族成员数量
14
简单同族被引用专利总数
260
诉讼案件数
0
法律状态/事件
授权 | 权利转移
抱歉,您的浏览器不支持PDF预览,请点击链接下载PDF文件