专利数据库
统计分析
产业报告
专利数据监控
产业人才
行业动态
产业政策法规
维权援助
个人中心
详情
文本
图像
标题
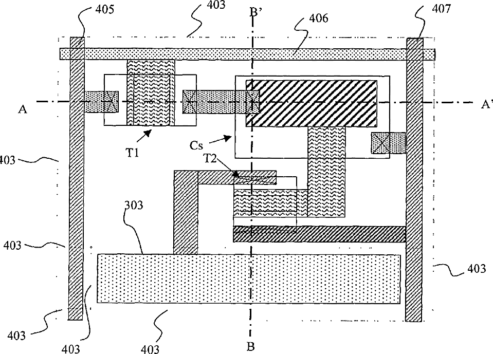
Pixel structure of an organic light-emitting diode display device and its fabrication method
授权日
1900-01-01
公开(公告)号
US20020125820A1
申请日
2001-03-08
公开(公告)日
2002-09-12
当前申请(专利权)人
INDUSTRIAL TECHNOLOGY RESEARCH INSTITUTE
发明人
SHEU, CHAI-YUAN | WANG, WEN-CHUN | YEH, YUNG-HUI
简单同族
JP2002216960A | JP4856810B2 | TW466888B | US20020125820A1 | US6522066
简单同族成员数量
5
简单同族被引用专利总数
147
诉讼案件数
0
法律状态/事件
授权 | 权利转移
抱歉,您的浏览器不支持PDF预览,请点击链接下载PDF文件