专利数据库
统计分析
产业报告
专利数据监控
产业人才
行业动态
产业政策法规
维权援助
个人中心
详情
文本
图像
标题
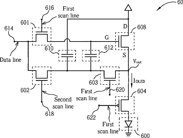
Active matrix organic light emitting diodes pixel circuit
授权日
2009-08-25
公开(公告)号
US7580015
申请日
2006-02-24
公开(公告)日
2009-08-25
当前申请(专利权)人
INNOLUX CORPORATION
发明人
TAI, YA-HSIANG | PAI, CHENG-CHIU
简单同族
TW200709157A | TWI317925B | US20070040769A1 | US7580015
简单同族成员数量
4
简单同族被引用专利总数
54
诉讼案件数
0
法律状态/事件
授权 | 权利转移
抱歉,您的浏览器不支持PDF预览,请点击链接下载PDF文件