专利数据库
统计分析
产业报告
专利数据监控
产业人才
行业动态
产业政策法规
维权援助
个人中心
详情
文本
图像
标题
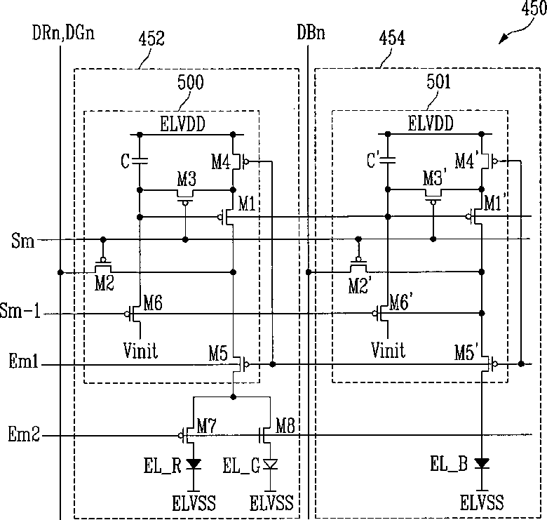
Organic light emitting display device and driving method thereof
授权日
1900-01-01
公开(公告)号
US20070103405A1
申请日
2006-09-11
公开(公告)日
2007-05-10
当前申请(专利权)人
SAMSUNG DISPLAY CO., LTD.
发明人
KWAK, WON KYU | NAOAKI, KOMIYA
简单同族
CN100578589C | CN1959790A | DE602006009203D1 | EP1783738A2 | EP1783738A3 | EP1783738B1 | JP2007128019A | JP4364873B2 | KR100662998B1 | US20070103405A1 | US8018405
简单同族成员数量
11
简单同族被引用专利总数
46
诉讼案件数
0
法律状态/事件
授权 | 权利转移
抱歉,您的浏览器不支持PDF预览,请点击链接下载PDF文件