专利数据库
统计分析
产业报告
专利数据监控
产业人才
行业动态
产业政策法规
维权援助
个人中心
详情
文本
图像
标题
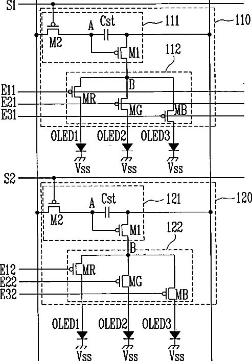
Pixel circuit and organic light emitting display
授权日
1900-01-01
公开(公告)号
US20060139257A1
申请日
2005-12-08
公开(公告)日
2006-06-29
当前申请(专利权)人
SAMSUNG DISPLAY CO., LTD.
发明人
KWAK, WON KYU | PARK, SUNG CHEON
简单同族
CN100397463C | CN1790468A | JP2006163371A | JP4368845B2 | KR100604061B1 | KR1020060065084A | US20060139257A1 | US7535447
简单同族成员数量
8
简单同族被引用专利总数
48
诉讼案件数
0
法律状态/事件
授权 | 权利转移
抱歉,您的浏览器不支持PDF预览,请点击链接下载PDF文件