专利数据库
统计分析
产业报告
专利数据监控
产业人才
行业动态
产业政策法规
维权援助
个人中心
详情
文本
图像
标题
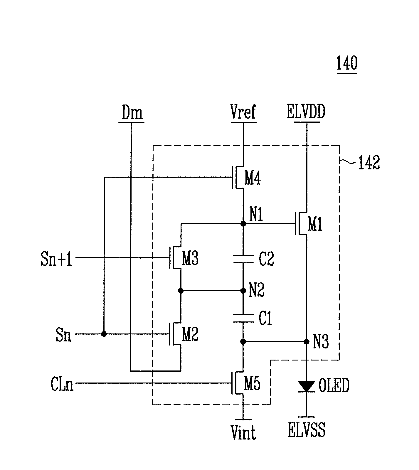
Pixel and organic light emitting display device using the pixel
授权日
2014-12-09
公开(公告)号
US8907870
申请日
2010-01-25
公开(公告)日
2014-12-09
当前申请(专利权)人
SAMSUNG DISPLAY CO., LTD.
发明人
KANG, CHUL-KYU | CHOI, YU-LIAN | KIM, KEUM-NAM
简单同族
AT532167T | CN101866614A | CN101866614B | EP2242039A1 | EP2242039B1 | JP2010250260A | JP5074468B2 | KR101008482B1 | KR1020100115062A | US20100265166A1 | US8907870
简单同族成员数量
11
简单同族被引用专利总数
70
诉讼案件数
0
法律状态/事件
授权 | 权利转移
抱歉,您的浏览器不支持PDF预览,请点击链接下载PDF文件