专利数据库
统计分析
产业报告
专利数据监控
产业人才
行业动态
产业政策法规
维权援助
个人中心
详情
文本
图像
标题
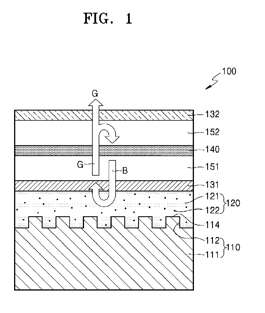
Light-emitting device and display apparatus including the light-emitting device
授权日
1900-01-01
公开(公告)号
EP3686946A1
申请日
2020-01-03
公开(公告)日
2020-07-29
当前申请(专利权)人
SAMSUNG ELECTRONICS CO., LTD.
发明人
JOO, WONJAE | KYOUNG, JISOO
简单同族
EP3686946A1
简单同族成员数量
1
简单同族被引用专利总数
0
诉讼案件数
0
法律状态/事件
公开
抱歉,您的浏览器不支持PDF预览,请点击链接下载PDF文件