专利数据库
统计分析
产业报告
专利数据监控
产业人才
行业动态
产业政策法规
维权援助
个人中心
详情
文本
图像
标题
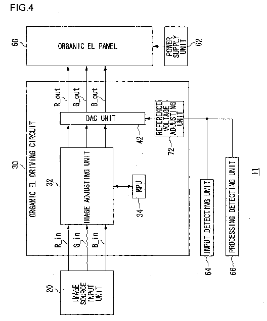
Display device, mobile terminal, and luminance control method in mobile terminal
授权日
1900-01-01
公开(公告)号
EP1494202A1
申请日
2003-03-27
公开(公告)日
2005-01-05
当前申请(专利权)人
SANYO ELECTRIC CO., LTD.
发明人
MORI, YUKIO | TANASE, SUSUMU | YAMASHITA, ATSUHIRO | INOUE, MASUTAKA | KINOSHITA, SHIGEO | MURATA, HARUHIKO | YABUKAWA, TAKASHI | GOYA, HIROYUKI
简单同族
AU2003227247A1 | CN1643564A | EP1494202A1 | EP1494202A4 | JPWO2003081567A1 | KR100789622B1 | KR1020050018648A | KR1020070065411A | US20050093958A1 | US7456852 | WO2003081567A1
简单同族成员数量
11
简单同族被引用专利总数
51
诉讼案件数
0
法律状态/事件
撤回 | 权利转移
抱歉,您的浏览器不支持PDF预览,请点击链接下载PDF文件