专利数据库
统计分析
产业报告
专利数据监控
产业人才
行业动态
产业政策法规
维权援助
个人中心
详情
文本
图像
标题
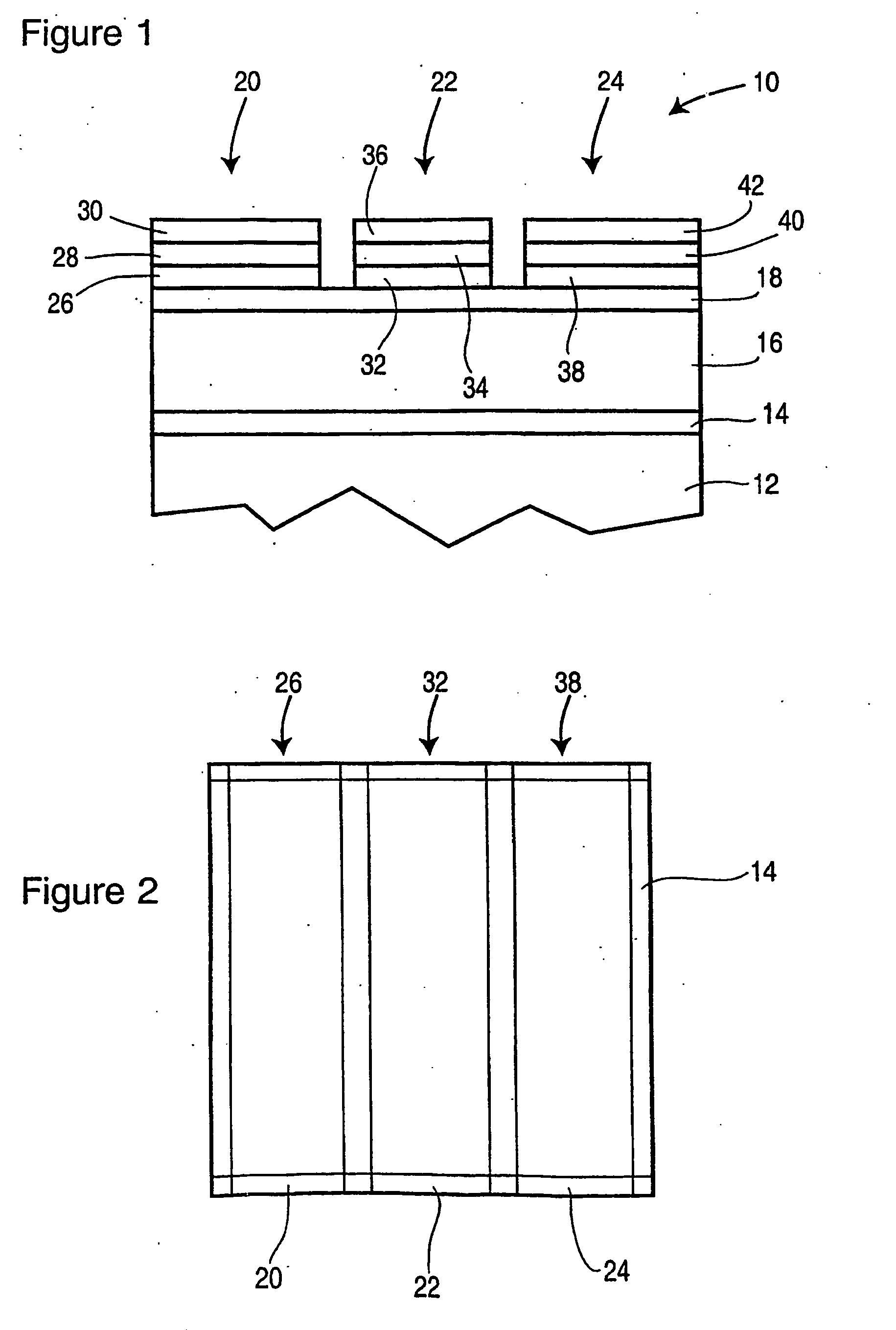
Yttrium substituted barium thioaluminate phosphor materials
授权日
2007-05-23
公开(公告)号
EP1493307B1
申请日
2003-03-24
公开(公告)日
2007-05-23
当前申请(专利权)人
IFIRE TECHNOLOGY CORP.
发明人
NAKUA, ABDUL, M. | CHEONG, DAN, DAEWEON
简单同族
AT363193T | AU2003212168A1 | CA2478439A1 | CN100468820C | CN1643993A | DE60313962D1 | DE60313962T2 | EP1493307A1 | EP1493307B1 | JP2005520924A | KR1020050004820A | US20030224221A1 | US6982124 | WO2003081957A1
简单同族成员数量
14
简单同族被引用专利总数
50
诉讼案件数
0
法律状态/事件
权利终止 | 权利转移
抱歉,您的浏览器不支持PDF预览,请点击链接下载PDF文件