专利数据库
统计分析
产业报告
专利数据监控
产业人才
行业动态
产业政策法规
维权援助
个人中心
详情
文本
图像
标题
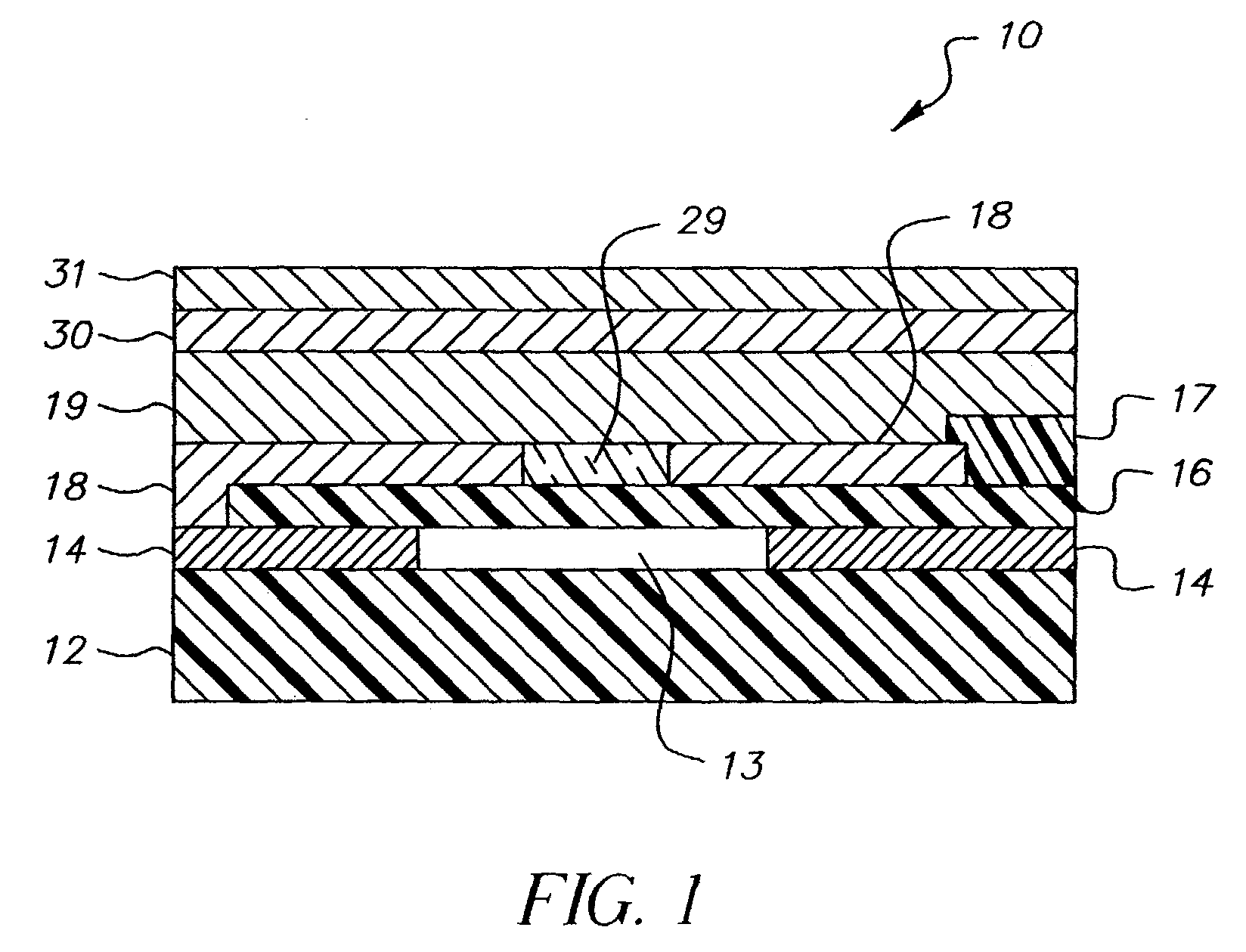
Oled display with photosensor
授权日
1900-01-01
公开(公告)号
EP1463117A2
申请日
2004-03-17
公开(公告)日
2004-09-29
当前申请(专利权)人
GLOBAL OLED TECHNOLOGY LLC
发明人
ARNOLD, ANDREW D., C/O EASTMAN KODAK COMPANY | COK, RONALD S., C/O EASTMAN KODAK COMPANY
简单同族
CN100435375C | CN1534805A | EP1463117A2 | EP1463117A3 | EP1463117B1 | JP2004303731A | JP4550455B2 | KR100995825B1 | KR1020040085025A | TW200500594A | TWI350713B | US20040188687A1 | US6933532
简单同族成员数量
13
简单同族被引用专利总数
178
诉讼案件数
0
法律状态/事件
授权 | 权利转移
抱歉,您的浏览器不支持PDF预览,请点击链接下载PDF文件