专利数据库
统计分析
产业报告
专利数据监控
产业人才
行业动态
产业政策法规
维权援助
个人中心
详情
文本
图像
标题
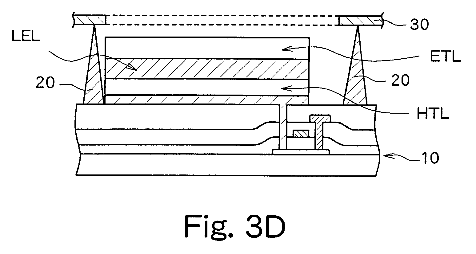
Electroluminescence display and manufacturing method of same, mask and manufacturing method of same
授权日
1900-01-01
公开(公告)号
EP1246273A3
申请日
2002-03-27
公开(公告)日
2006-10-18
当前申请(专利权)人
SANYO ELECTRIC CO., LTD.
发明人
YAMADA, TSUTOMU | NISHIKAWA, RYUJI
简单同族
CN100380223C | CN1378094A | EP1246273A2 | EP1246273A3 | JP2002289347A | KR100462513B1 | KR1020020076192A | US20020158570A1
简单同族成员数量
8
简单同族被引用专利总数
50
诉讼案件数
0
法律状态/事件
撤回
抱歉,您的浏览器不支持PDF预览,请点击链接下载PDF文件