专利数据库
统计分析
产业报告
专利数据监控
产业人才
行业动态
产业政策法规
维权援助
个人中心
详情
文本
图像
标题
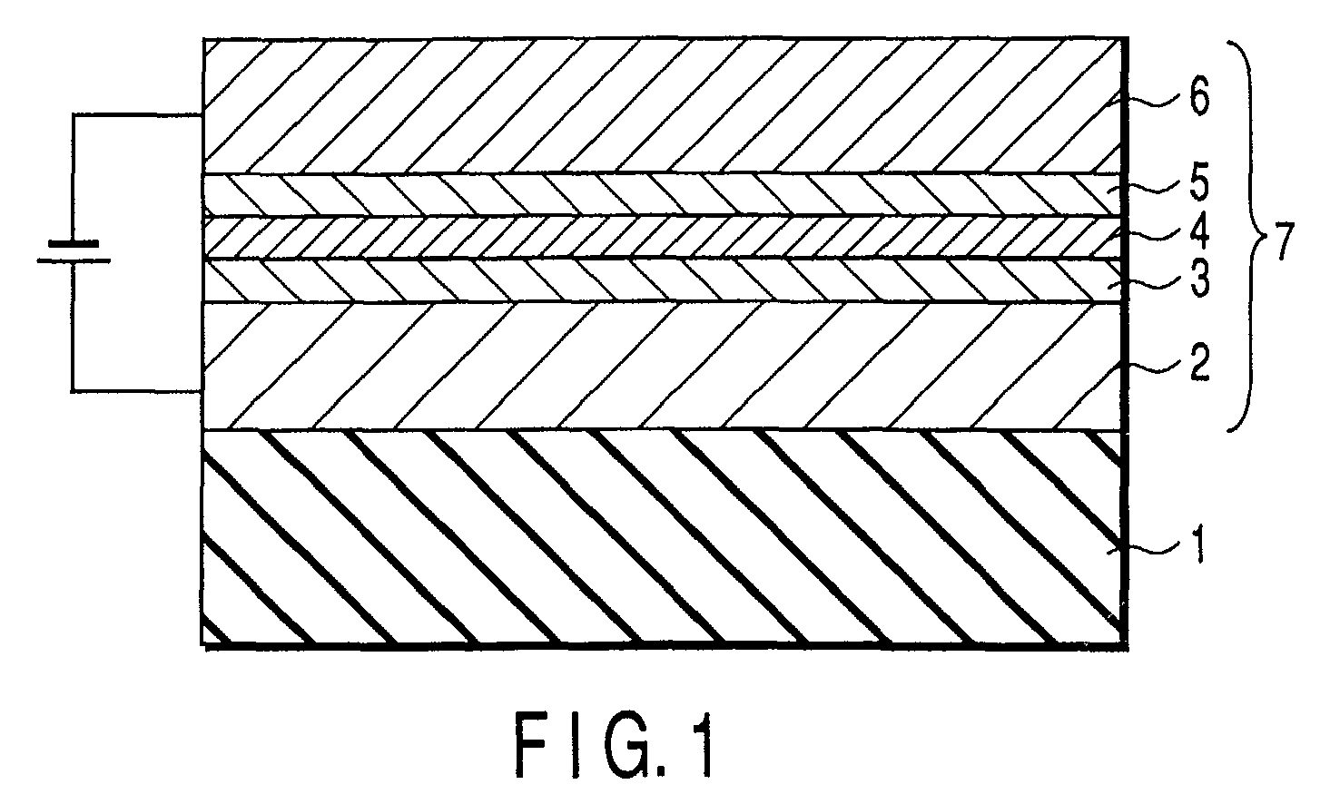
Organic electroluminescent device and display apparatus
授权日
1900-01-01
公开(公告)号
EP1220341A3
申请日
2001-12-24
公开(公告)日
2006-11-22
当前申请(专利权)人
KABUSHIKI KAISHA TOSHIBA
发明人
NAITO, KATSUYUKI, KK TOSHIBA
简单同族
DE60134618D1 | EP1220341A2 | EP1220341A3 | EP1220341B1 | KR100426919B1 | KR1020020055425A | US20020106531A1 | US6790538
简单同族成员数量
8
简单同族被引用专利总数
67
诉讼案件数
0
法律状态/事件
权利终止
抱歉,您的浏览器不支持PDF预览,请点击链接下载PDF文件