专利数据库
统计分析
产业报告
专利数据监控
产业人才
行业动态
产业政策法规
维权援助
个人中心
详情
文本
图像
标题
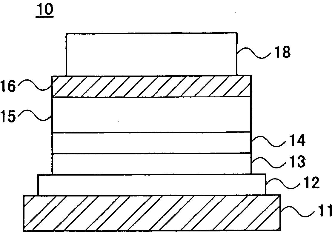
Organic electroluminescence device and organic electroluminescence display
授权日
1900-01-01
公开(公告)号
EP1603369A4
申请日
2003-03-13
公开(公告)日
2007-12-19
当前申请(专利权)人
UDC IRELAND LIMITED
发明人
NAKAYAMA, MASAYA, FUJITSU LIMITED | ITAI, YUICHIRO, FUJITSU LIMITED | KINOSHITA, MASARU, FUJITSU LIMITED | KODAMA, JUN, FUJITSU LIMITED
简单同族
AU2003220906A1 | CN100448060C | CN1682574A | EP1603369A1 | EP1603369A4 | EP1603369B1 | JPWO2004082338A1 | US20050179370A1 | US7045953 | WO2004082338A1
简单同族成员数量
10
简单同族被引用专利总数
57
诉讼案件数
0
法律状态/事件
授权 | 权利转移
抱歉,您的浏览器不支持PDF预览,请点击链接下载PDF文件