专利数据库
统计分析
产业报告
专利数据监控
产业人才
行业动态
产业政策法规
维权援助
个人中心
详情
文本
图像
标题
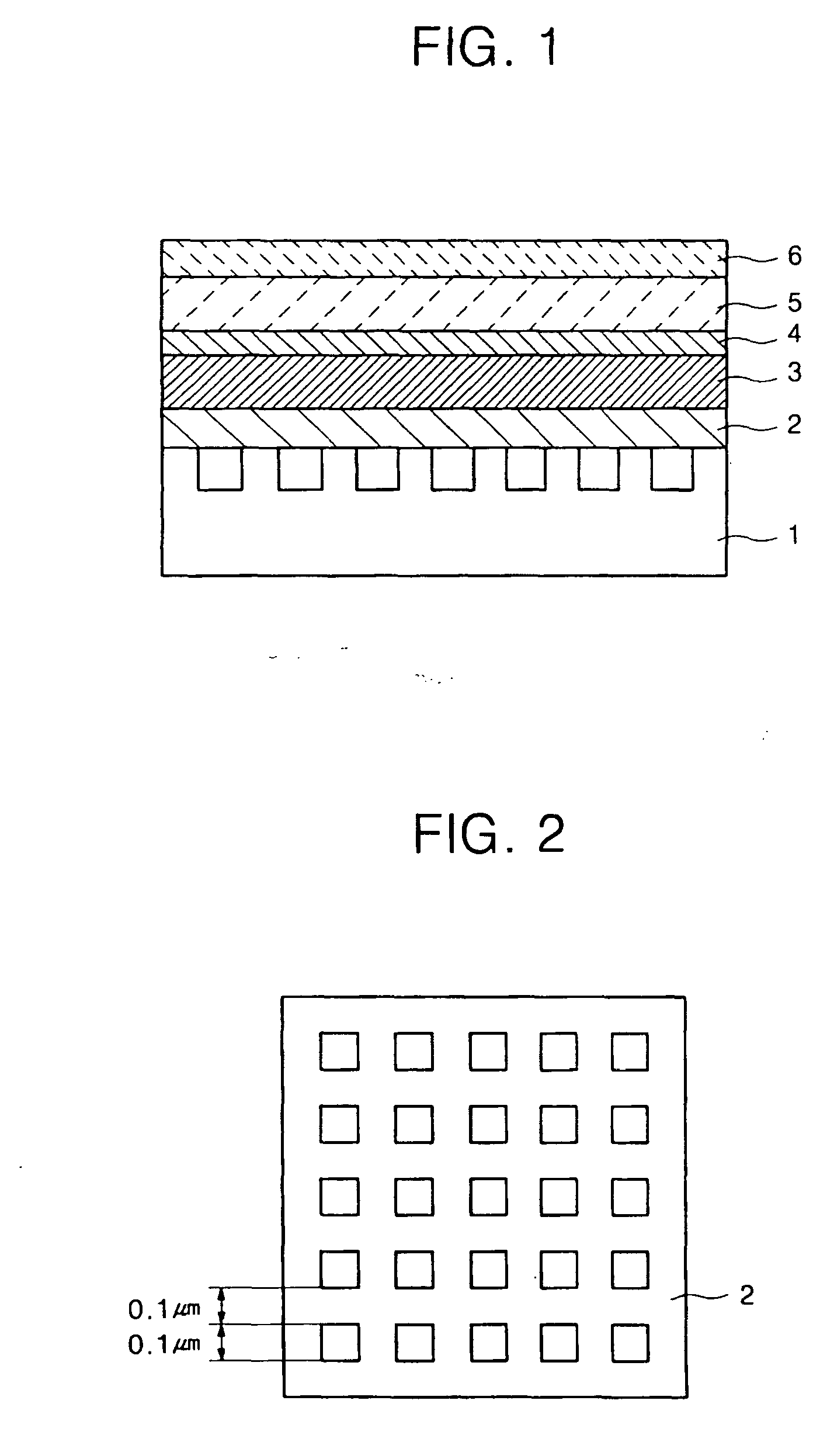
Electroluminescent display device
授权日
1900-01-01
公开(公告)号
EP1480281A2
申请日
2004-05-14
公开(公告)日
2004-11-24
当前申请(专利权)人
SAMSUNG DISPLAY CO., LTD.
发明人
OHNISHI, YASUHARU C/O NEC CORPORATION | TOGUCHI, SATORU C/O NEC CORPORATION | YAMANARI, JUNICHI C/O NEC CORPORATION | ISHIKAWA, HITOSHI C/O NEC CORPORATION | GOTOH, TOMOHISA C/O NEC CORPORATION | KAMIJO, ATSUSHI C/O NEC CORPORATION
简单同族
CN100459211C | CN1575075A | EP1480281A2 | EP1480281A3 | JP2004349111A | JP4220305B2 | KR100894625B1 | KR1020040101004A | US20050077820A1 | US7619357
简单同族成员数量
10
简单同族被引用专利总数
134
诉讼案件数
0
法律状态/事件
撤回 | 权利转移
抱歉,您的浏览器不支持PDF预览,请点击链接下载PDF文件