专利数据库
统计分析
产业报告
专利数据监控
产业人才
行业动态
产业政策法规
维权援助
个人中心
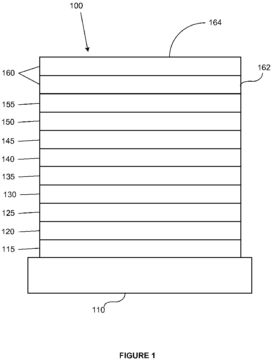
详情
文本
图像
标题
Hole transport materials having a sulfur-containing group
授权日
1900-01-01
公开(公告)号
EP2628778A1
申请日
2009-06-30
公开(公告)日
2013-08-21
当前申请(专利权)人
UNIVERSAL DISPLAY CORPORATION
发明人
LIN, CHUN | MA, BIN | XIA, CHUANJUN | WU, YONGGANG | KWONG, RAYMOND
简单同族
CN102131891A | CN102131891B | EP2321376A1 | EP2321376B1 | EP2628778A1 | EP2628778B1 | JP2011527122A | JP2014143424A | JP5536054B2 | JP6009478B2 | KR101913462B1 | KR1020110009734A | KR1020150136620A | KR1020160140980A | US20110163302A1 | US8652653 | WO2010002848A1
简单同族成员数量
17
简单同族被引用专利总数
338
诉讼案件数
0
法律状态/事件
授权
抱歉,您的浏览器不支持PDF预览,请点击链接下载PDF文件