专利数据库
统计分析
产业报告
专利数据监控
产业人才
行业动态
产业政策法规
维权援助
个人中心
详情
文本
图像
标题
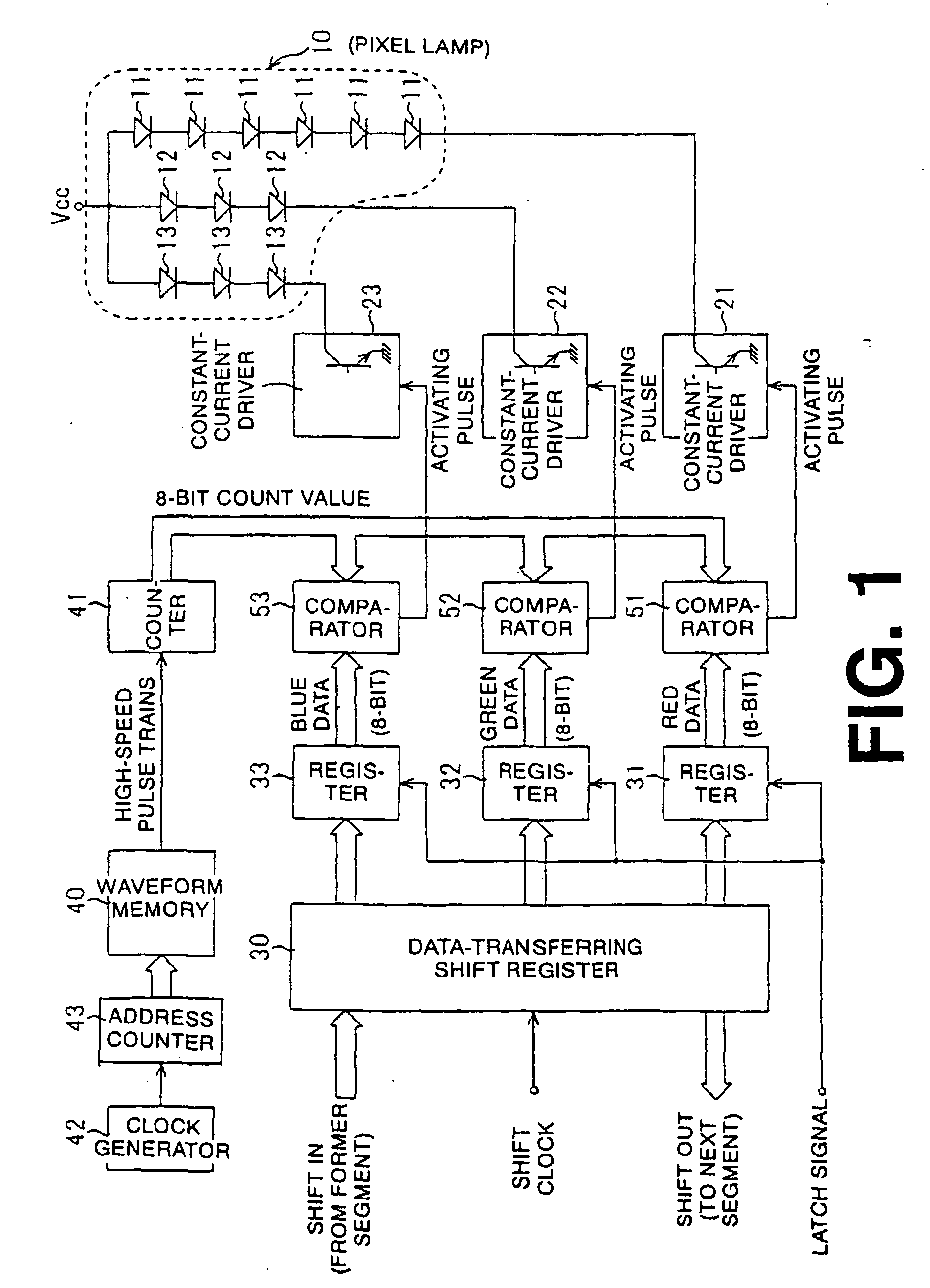
Fullcolor LED display system
授权日
2006-09-27
公开(公告)号
EP1204087B1
申请日
2000-03-24
公开(公告)日
2006-09-27
当前申请(专利权)人
AVIX INC.
发明人
TOKIMOTO, TOYOTARO | OHISHI, MASATOSHI
简单同族
AT341068T | AU2000033279A1 | AU765834B2 | BRPI0009298A2 | CA2367145A1 | CN1187729C | CN1348579A | DE60030982D1 | DE60030982T2 | EP1204087A1 | EP1204087A4 | EP1204087B1 | ES2273671T3 | HK1044211A | HK1044211A1 | IL145590A | IL145590D0 | KR100654521B1 | KR1020010110683A | TW559762B | US6734875 | WO2000057397A1
简单同族成员数量
22
简单同族被引用专利总数
90
诉讼案件数
0
法律状态/事件
权利终止
抱歉,您的浏览器不支持PDF预览,请点击链接下载PDF文件