专利数据库
统计分析
产业报告
专利数据监控
产业人才
行业动态
产业政策法规
维权援助
个人中心
详情
文本
图像
标题
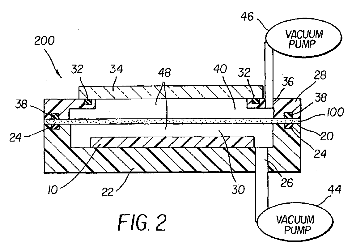
Method for transferring of organic material from a donor to form a layer in an oled device
授权日
1900-01-01
公开(公告)号
EP1321988A3
申请日
2002-12-10
公开(公告)日
2005-10-12
当前申请(专利权)人
EASTMAN KODAK COMPANY
发明人
TYAN, YUAN-SHENG, C/O EASTMAN KODAK COMPANY | FARRUGGIA, GIUSEPPE, C/O EASTMAN KODAK COMPANY | VAZAN, FRIDRICH, C/O EASTMAN KODAK COMPANY | CUSHMAN, THOMAS RICHARD, C/O EASTMAN KODAK COMPANY
简单同族
CN100355111C | CN1427653A | EP1321988A2 | EP1321988A3 | JP2003223991A | KR1020030051379A | TW200303695A | TW579659B | US20030113656A1 | US6688365
简单同族成员数量
10
简单同族被引用专利总数
70
诉讼案件数
0
法律状态/事件
撤回
抱歉,您的浏览器不支持PDF预览,请点击链接下载PDF文件