专利数据库
统计分析
产业报告
专利数据监控
产业人才
行业动态
产业政策法规
维权援助
个人中心
详情
文本
图像
标题
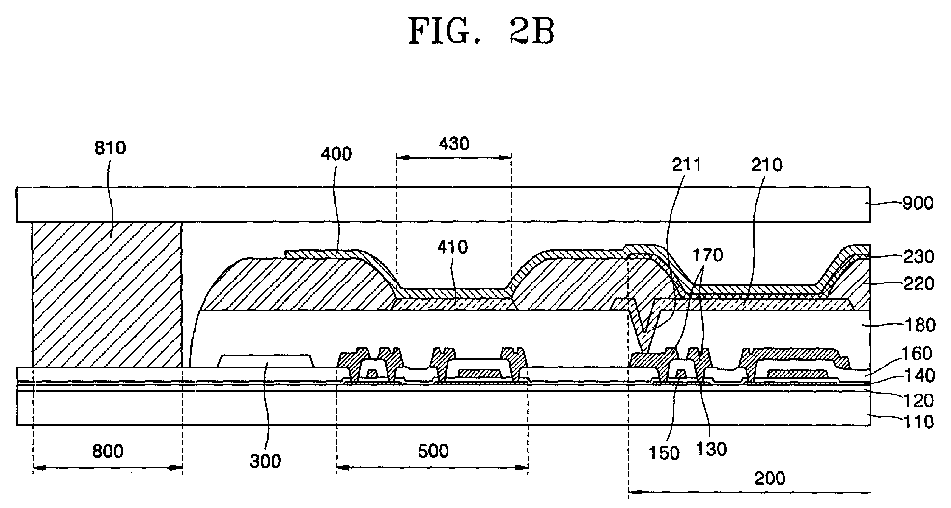
Electroluminescence display device
授权日
1900-01-01
公开(公告)号
EP1575090A2
申请日
2005-03-07
公开(公告)日
2005-09-14
当前申请(专利权)人
SAMSUNG MOBILE DISPLAY CO., LTD.
发明人
KWAK, WON-KYU | LEE, KWAN-HEE
简单同族
CN1668152A | CN1668152B | EP1575090A2 | EP1575090A3 | EP1575090B1 | JP2005258395A | JP3940738B2 | KR100581903B1 | KR1020050090586A | US20050200270A1 | US20110298391A1 | US8026667 | US8247968
简单同族成员数量
13
简单同族被引用专利总数
97
诉讼案件数
0
法律状态/事件
授权 | 权利转移
抱歉,您的浏览器不支持PDF预览,请点击链接下载PDF文件